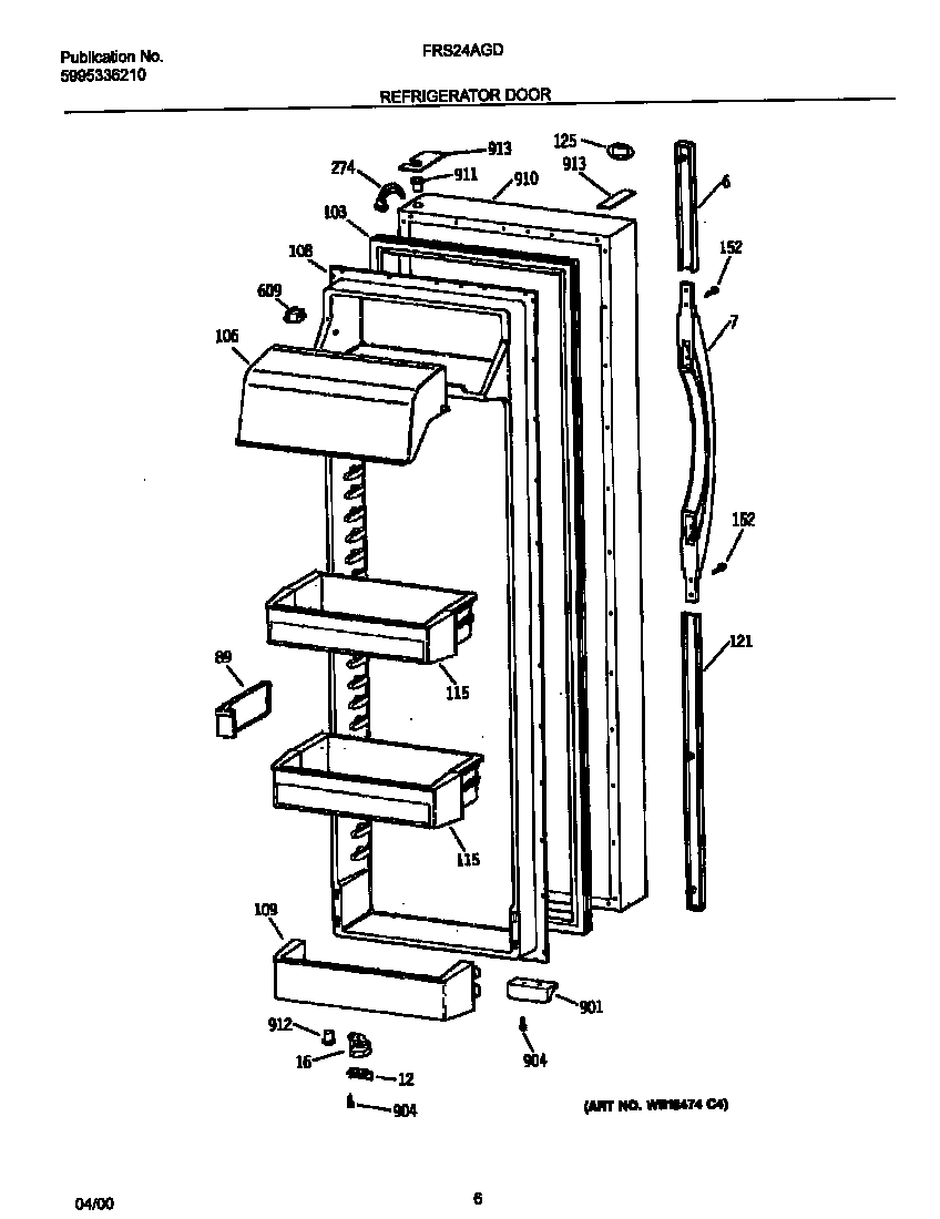
FRS24AGDB0 04 – REFRIGERATOR DOORadmin2025-04-26T12:50:53+00:00FRS24AGDB0 04 – REFRIGERATOR DOOR ProductsPositionProduct6WCI 53044066637WCI 530441662912WCI 530440636116WCI 530440643289WCI 5304406434103WCI 5304406435106WCI 5304406437108WCI 5304406438109WCI 5304406439115WCI 5304406440121WCI 5304406669125WCI 5304406687152WCI 5304406671274HARNESS-WIRING,REFR LIGHT SW609WCI 5304406442901WCI 5304406379904SCREW-DOOR STRIKE,(8)910WCI 5304406637911WCI 5304406385912WCI 5304406445913WCI 5304406690