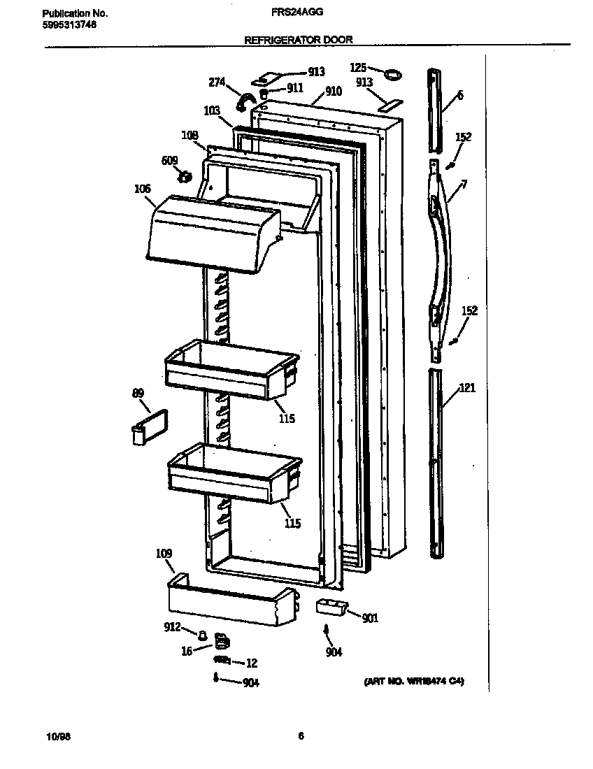
FRS24AGGW1 04 – REFR DOORadmin2025-04-26T12:49:17+00:00FRS24AGGW1 04 – REFR DOOR ProductsPositionProduct6WCI 53044066647WCI 530440666612WCI 530440636116WCI 530440643389WCI 5304406434103WCI 5304406436106WCI 5304406437108WCI 5304406438109WCI 5304406439115WCI 5304406440121WCI 5304406670125WCI 5304406688152WCI 5304406671274HARNESS-WIRING,REFR LIGHT SW609WCI 5304406442901WCI 5304406380904SCREW-DOOR STRIKE,(8)910WCI 5304406638911WCI 5304406384912WCI 5304406446913WCI 5304406689