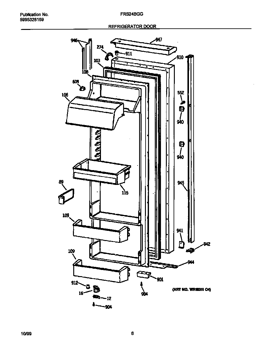
FRS24BGGB4 04 – REFRIGERATOR DOORadmin2025-04-26T12:49:49+00:00FRS24BGGB4 04 – REFRIGERATOR DOOR ProductsPositionProduct12WCI 530440636116WCI 530440643289WCI 5304406434103WCI 5304406435106WCI 5304406437108WCI 5304406438109WCI 5304406439115WCI 5304406440274HARNESS-WIRING,REFR LIGHT SW552SCREW-HINGE MTG,(12)609WCI 5304406442901WCI 5304406379904SCREW-DOOR STRIKE,(8)910WCI 5304413826911WCI 5304406385912WCI 5304406445940WCI 5304406635941WCI 5304406449942WCI 5304406450944WCI 5304406452945WCI 5304406639946WCI 5304406456947WCI 5304406458