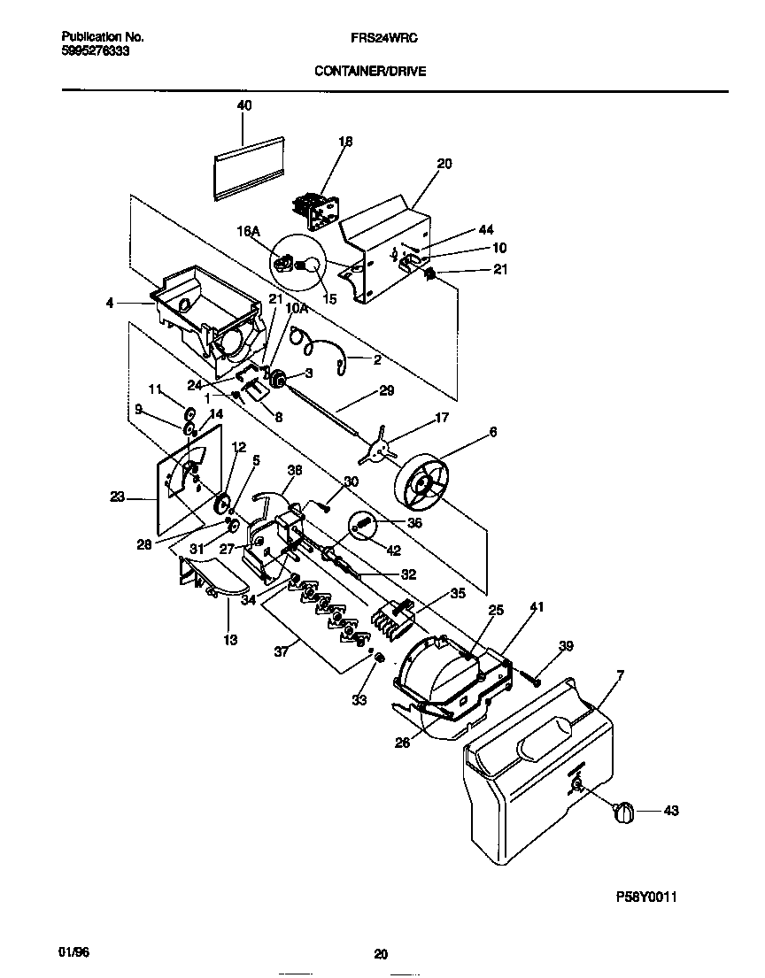
FRS24WRCD2 09 – CONTAINER/DRIVEadmin2025-04-26T12:49:25+00:00FRS24WRCD2 09 – CONTAINER/DRIVE ProductsPositionProduct*12852WCI 2157817001WCI 2155713002WCI 2182325003WCI 2182323004BLABEL-ICE CONTAINER (NOT ILLUSTRATED)4AWCI 2182168005WCI 2157481056WCI 2157528007WCI 2154216158WCI 2155712009WCI 21541970010241726501 Frigidaire Refrigerator Drive Bar10WCI 21823280011WCI 21575520012WCI 21542040013WCI 21828520014WCI 21541990015316538904 Frigidaire Oven Lamp Light16218906802 Frigidaire Light Lamp Socket17WCI 21575480018BHARNESS-WIRING, AUGER MOTOR (NOT ILLUSTRATED)18A5304462594 Frigidaire Refrigerator Motor-Auger20WCI 21528530123AWCI 21575530023CSTUD (NOT ILLUSTRATED)23BRING-RETAINER (NOT ILLUSTRATED)24WCI 21557140025WCI 21542140026215503203 Frigidaire Refrigerator Door Handle Screw27WCI 21574840028WCI 21575510029WCI 21575750130WCI 21575730031WCI 21575740032BRING-SNAP (NOT ILLUSTRATED)32AWCI 21574750133WCI 21574820034WCI 21574830035WCI 21575350036WCI 21575670037EBLADE-CRUSHER, NO. 4 (NOT ILLUSTRATED)37CBLADE-CRUSHER, NO. 2 (NOT ILLUSTRATED)37BBLADE-CRUSHER, NO. 1 (NOT ILLUSTRATED)37AWCI 21575610037JSPACER, (4) (NOT ILLUSTRATED)37DBLADE-CRUSHER, NO. 3 (NOT ILLUSTRATED)37FBLADE-CRUSHER, NO. 5 (NOT ILLUSTRATED)37GSHAFT-CRUSHER (NOT ILLUSTRATED)37HRING-SNAP (NOT ILLUSTRATED)37ISPACER, (2) (NOT ILLUSTRATED)38WCI 21827010039WCI 21575700040WCI 21536300041WCI 21827020042WCI 21575600043AWCI 21575500343BSPRING-KNOB (NOT ILLUSTRATED)44WCI 218359200