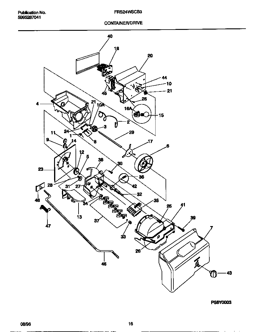
FRS24WSCB3 09 – CONTAINER/DRIVE