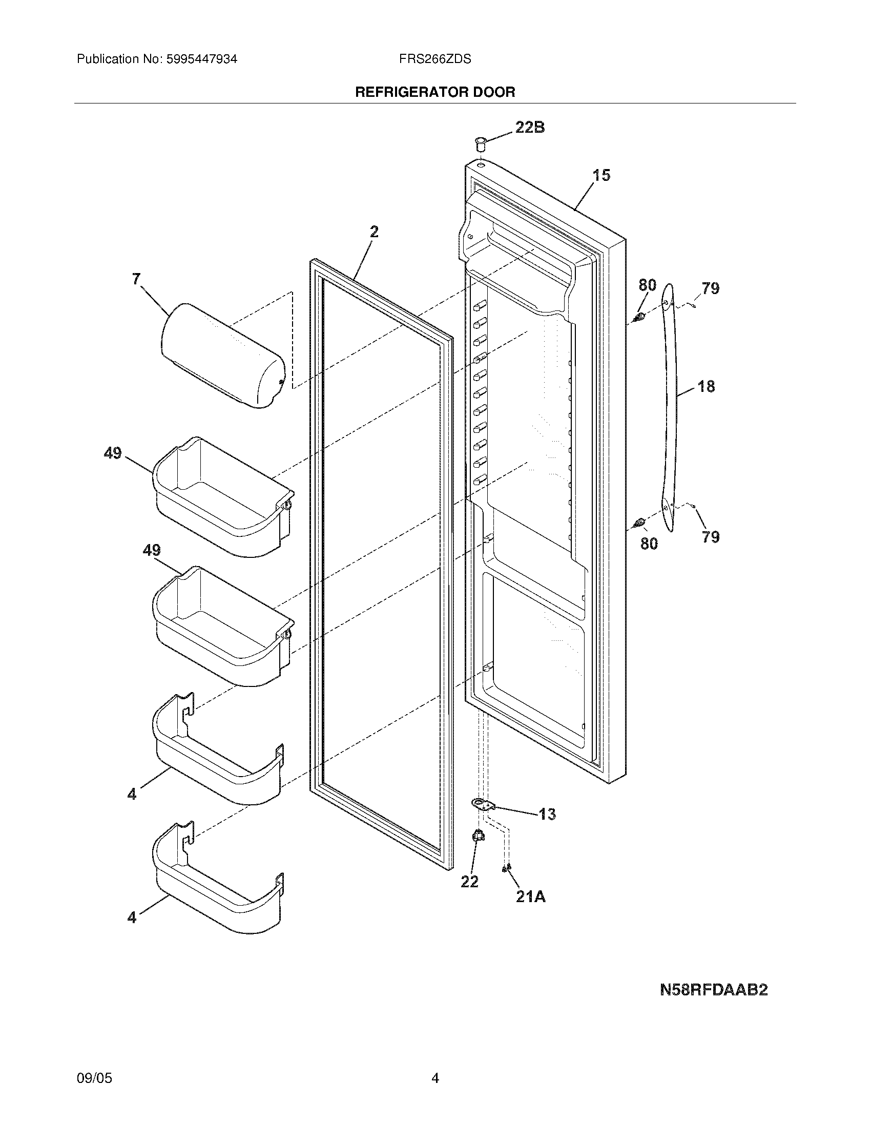
FRS266ZDSBA 05 – REFRIGERATOR DOORadmin2025-04-26T08:37:10+00:00FRS266ZDSBA 05 – REFRIGERATOR DOOR ProductsPositionProduct2241786013 Frigidaire Refrigerator Door Gasket4240323002 Frigidaire Bottom Clear Door Bin7WCI 24032620313240581905 Frigidaire Refrigerator Door Stop15WCI 24153454018WCI 24053680521A240598402 Frigidaire Refrigerator Screw22B240328404 Frigidaire Refrigerator Upper Door Hinge Bearing22240328203 Frigidaire Refrigerator Door Hinge Bearing49240356402 Frigidaire Refrigerator Gallon Door Bin79218755401 Frigidaire Refrigerator Screw Set80218755504 Frigidaire Refrigerator Shoulder Screw