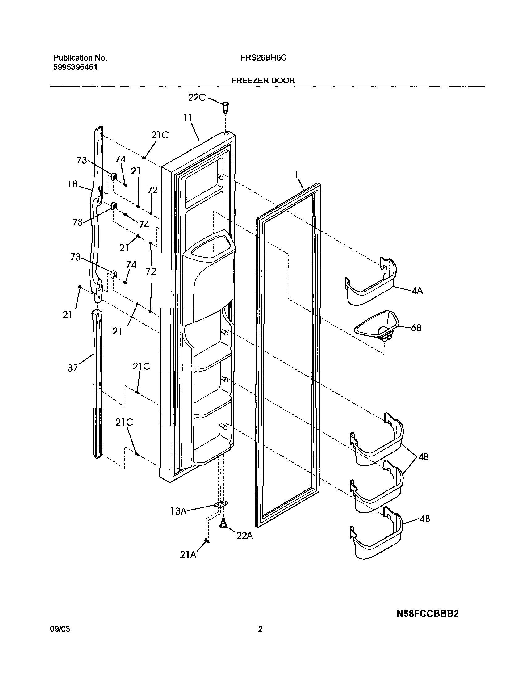
FRS26BH6CB2 03 – FREEZER DOOR