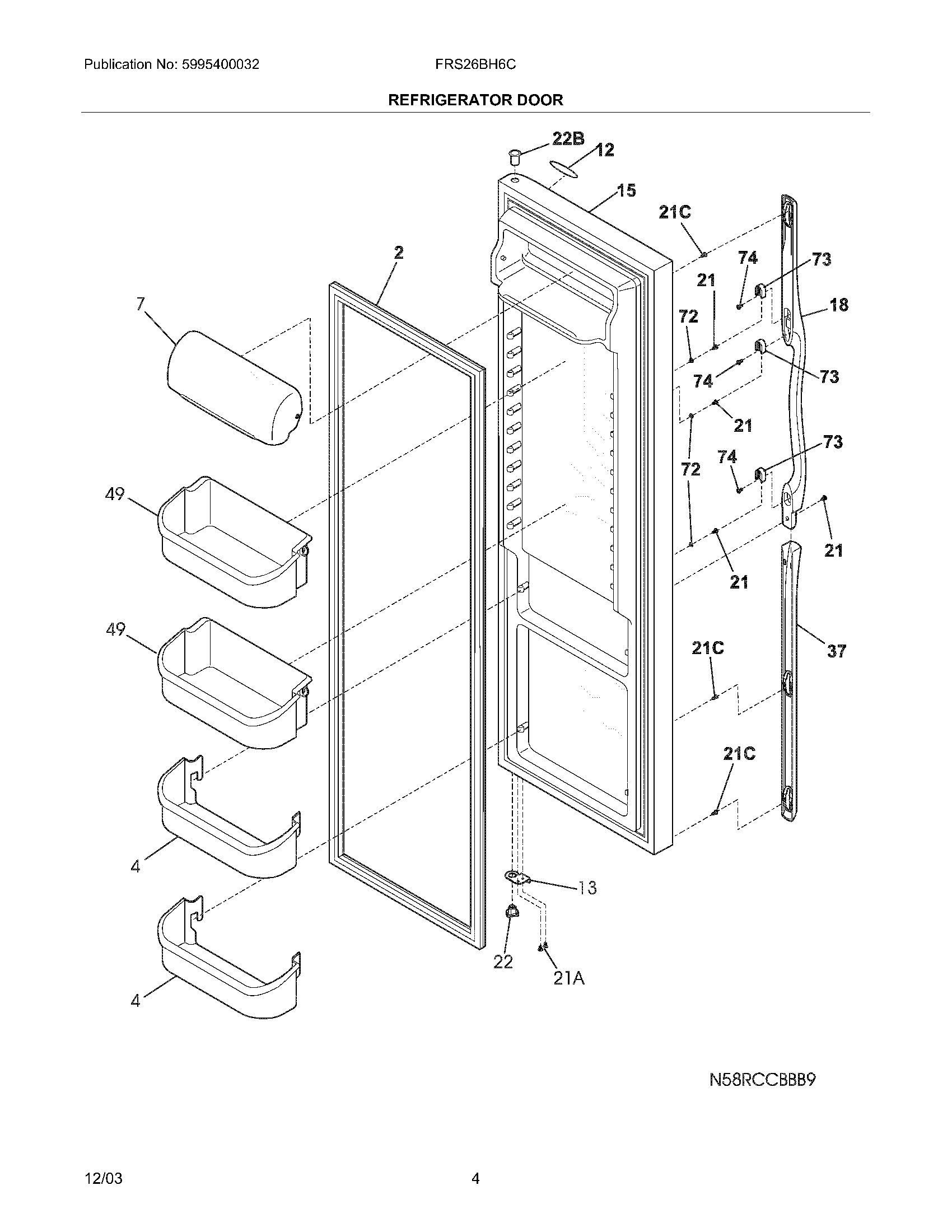
FRS26BH6CS4 05 – REFRIGERATOR DOOR