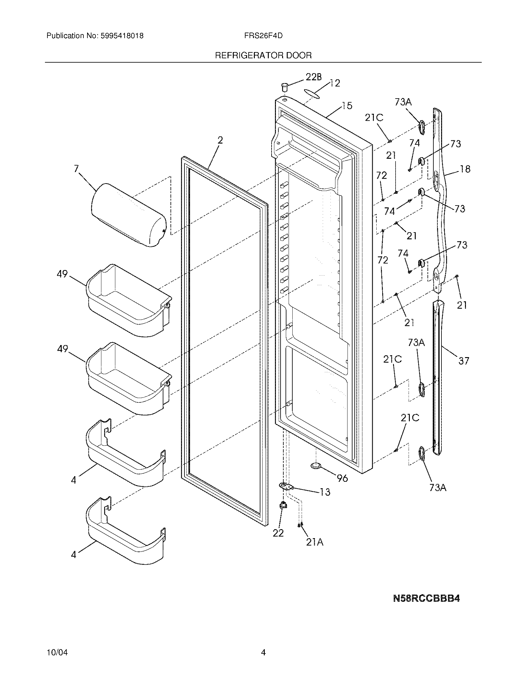
FRS26F4DW2 05 – REFRIGERATOR DOORadmin2025-04-26T08:37:03+00:00FRS26F4DW2 05 – REFRIGERATOR DOOR ProductsPositionProduct2241786001 Frigidaire Door Gasket4240323001 Frigidaire Refrigerator Bottom Pseudo Door Bin7WCI 24032620312240415201 Frigidaire Nameplate Label135303918455 Frigidaire Refrigerator Adjustable Hinge Kit15Panel-refr door,white ,complete assy18Handle-door21C240521303 Frigidaire Refrigerator Screw21218781101 Frigidaire Handle Screw21A5304455650 Frigidaire Refrigerator Screw22BBearing-hinge,upper22240328201 Frigidaire Refrigerator Hinge Bearing37WCI 24035920149240356401 Frigidaire Refrigerator White Gallon Bin Door Shelf72WCI 24042170173AWCI 24033910173218396700 Frigidaire Door Handle Mounting Block74215503203 Frigidaire Refrigerator Door Handle Screw96WCI 240345505