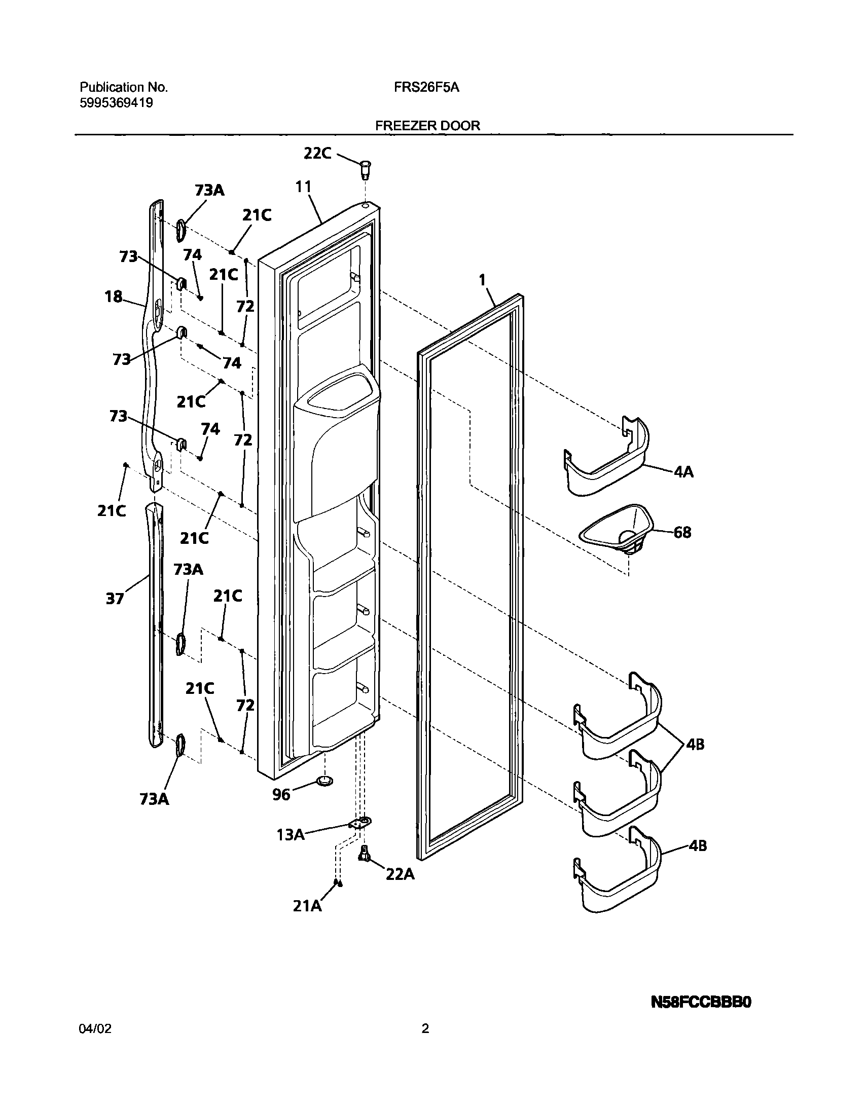
FRS26F5AQ4 03 – FREEZER DOORadmin2025-04-26T08:37:20+00:00FRS26F5AQ4 03 – FREEZER DOOR ProductsPositionProductNI240545201 Frigidaire Refrigerator Elbow P-1NIWCI 240323201NI5303918256 Frigidaire Refrigerator Heater Kit Dispenser1GASKET-FRZR DOOR4B240351601 Frigidaire Freezer Door Bin4A240334201 Frigidaire Refrigerator Upper Freezer Door Bin11WCI 24045180913A5303918455 Frigidaire Refrigerator Adjustable Hinge Kit18WCI 24035910921A5304455650 Frigidaire Refrigerator Screw21C218781101 Frigidaire Handle Screw22C240328402 Frigidaire Refrigerator Bearing Hinge22A242000501 Frigidaire Refrigerator Hinge Bearing37WCI 24035920468WCI 24046770172WCI 24042170173AWCI 24033910173218396700 Frigidaire Door Handle Mounting Block74215503203 Frigidaire Refrigerator Door Handle Screw96WCI 240345505