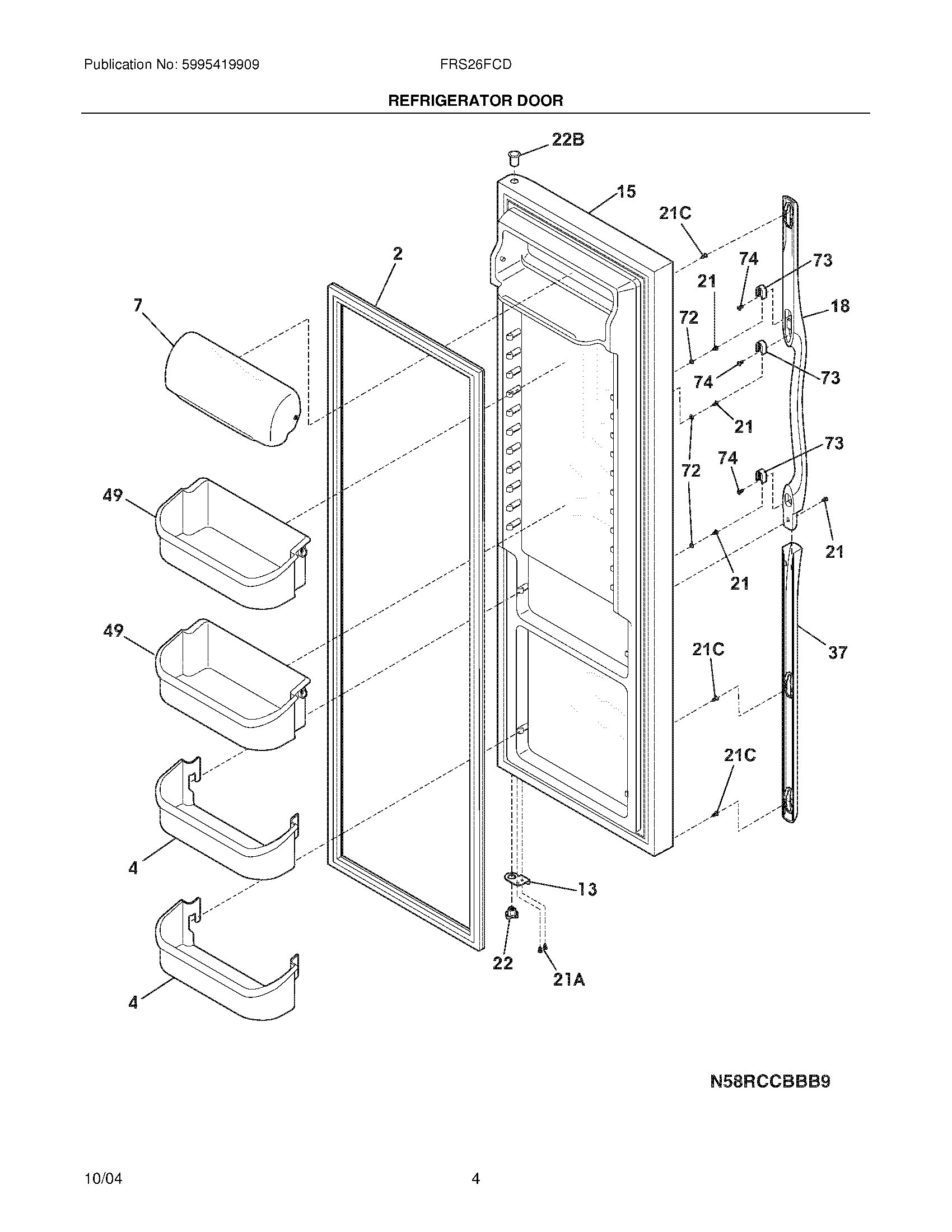
FRS26FCDQ3 05 – REFRIGERATOR DOORadmin2025-04-26T08:36:48+00:00FRS26FCDQ3 05 – REFRIGERATOR DOOR ProductsPositionProduct2241786001 Frigidaire Door Gasket4240323001 Frigidaire Refrigerator Bottom Pseudo Door Bin7WCI 240326203135303918455 Frigidaire Refrigerator Adjustable Hinge Kit15WCI 24045190418WCI 24035910421CWCI 24052130221A5304455650 Frigidaire Refrigerator Screw21218781101 Frigidaire Handle Screw22240328201 Frigidaire Refrigerator Hinge Bearing22BBearing-hinge,upper37WCI 24035920449240356401 Frigidaire Refrigerator White Gallon Bin Door Shelf72WCI 24042170173218396700 Frigidaire Door Handle Mounting Block74215503203 Frigidaire Refrigerator Door Handle Screw