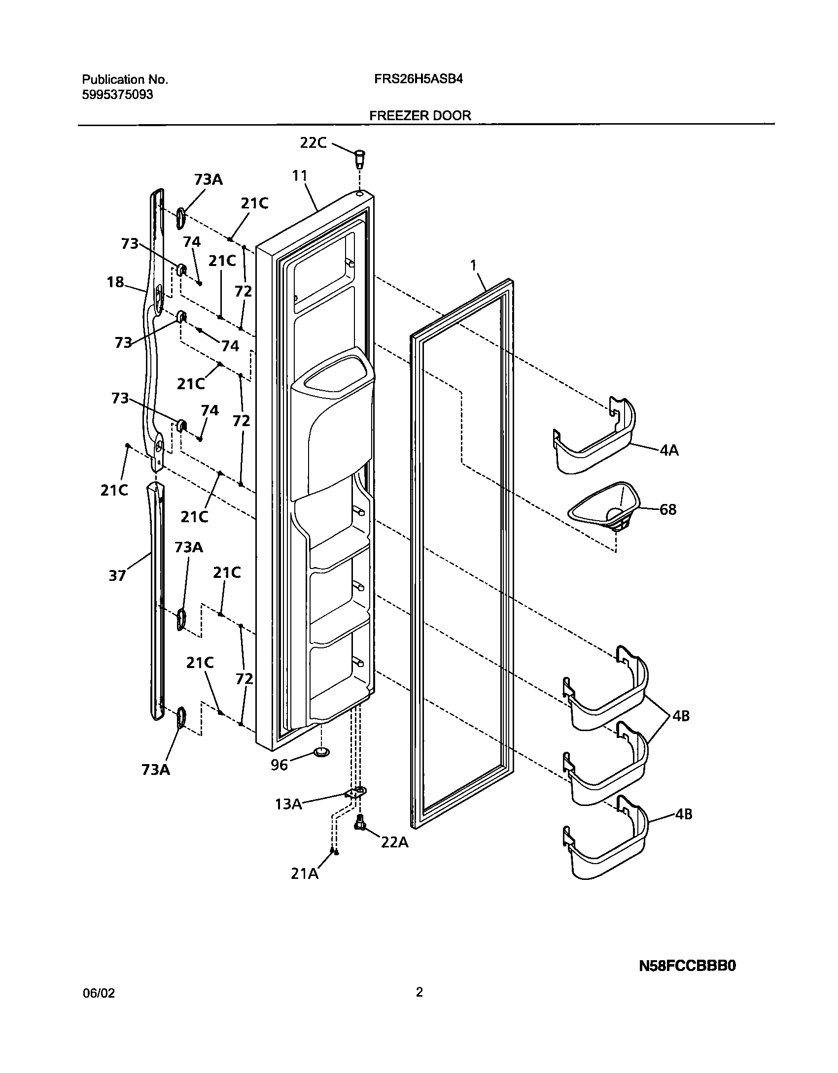
FRS26H5ASB4 03 – FREEZER DOORadmin2025-04-26T08:37:32+00:00FRS26H5ASB4 03 – FREEZER DOOR ProductsPositionProductNIWCI 240323201NIWCI 218490900NI5303918256 Frigidaire Refrigerator Heater Kit DispenserNI240545201 Frigidaire Refrigerator Elbow P-11GASKET-FRZR DOOR4B240351601 Frigidaire Freezer Door Bin4A240334201 Frigidaire Refrigerator Upper Freezer Door Bin11WCI 24045187413A5303918455 Frigidaire Refrigerator Adjustable Hinge Kit18Handle-door,black21A5304455650 Frigidaire Refrigerator Screw21C218781101 Frigidaire Handle Screw22C240328404 Frigidaire Refrigerator Upper Door Hinge Bearing22A242000501 Frigidaire Refrigerator Hinge Bearing37WCI 24035920368WCI 24046770172WCI 24042170173218396700 Frigidaire Door Handle Mounting Block73AWCI 24033910174215503203 Frigidaire Refrigerator Door Handle Screw96WCI 240345506