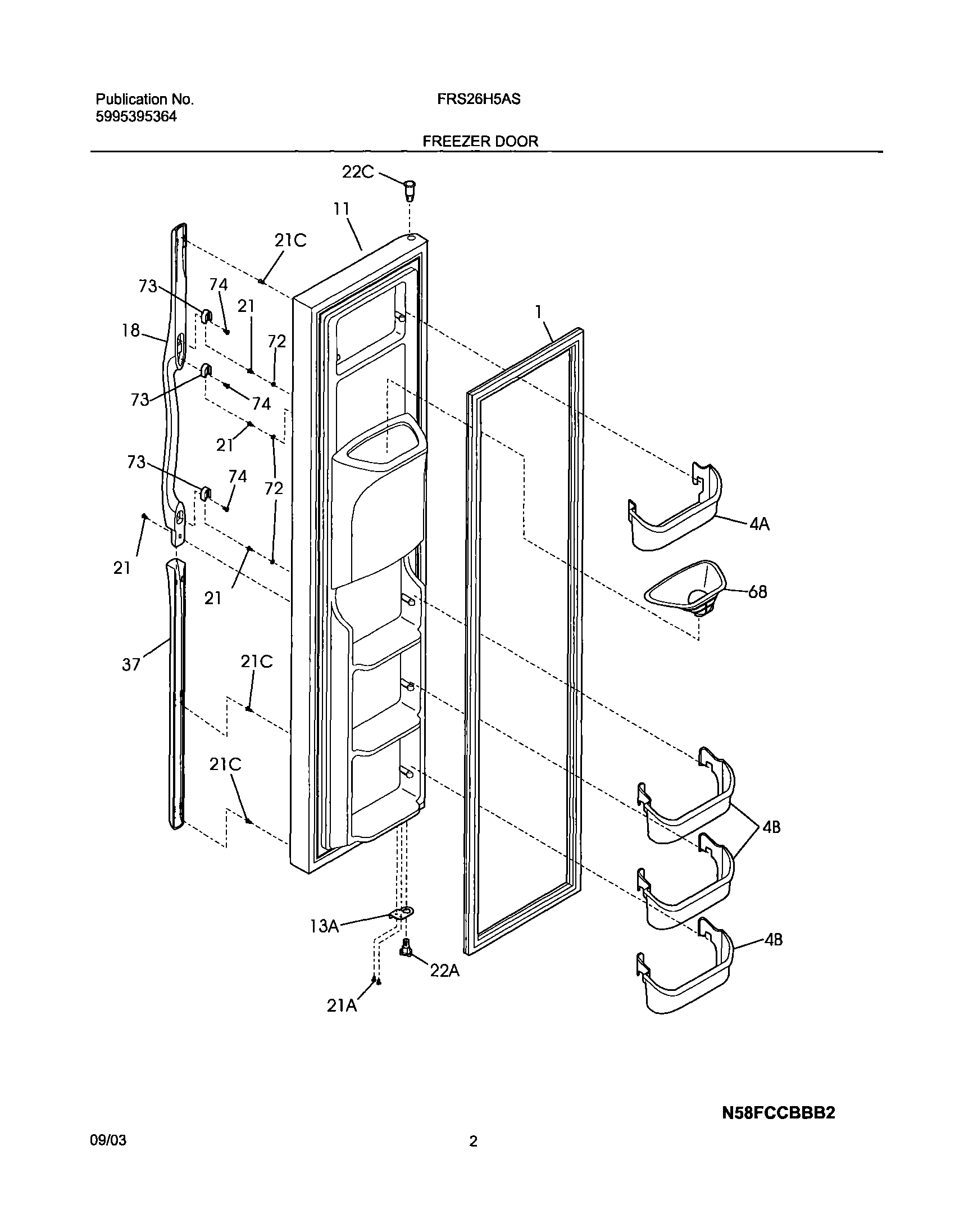
FRS26H5ASB8 03 – FREEZER DOORadmin2025-04-26T08:37:14+00:00FRS26H5ASB8 03 – FREEZER DOOR ProductsPositionProductNIWCI 218490900NI5304521763 Frigidaire Refrigerator Wiring HarnessNI5303918256 Frigidaire Refrigerator Heater Kit DispenserNI240545201 Frigidaire Refrigerator Elbow P-11GASKET-FRZR DOOR4B240351601 Frigidaire Freezer Door Bin4A240334201 Frigidaire Refrigerator Upper Freezer Door Bin11WCI 24055422813A240581906 Frigidaire Refrigerator Door Stop18Handle-door,black21CWCI 24052130221218781101 Frigidaire Handle Screw21A240598402 Frigidaire Refrigerator Screw22A242000501 Frigidaire Refrigerator Hinge Bearing22C240328404 Frigidaire Refrigerator Upper Door Hinge Bearing37WCI 24035920368WCI 24046770172WCI 24042170173218396700 Frigidaire Door Handle Mounting Block74215503203 Frigidaire Refrigerator Door Handle Screw