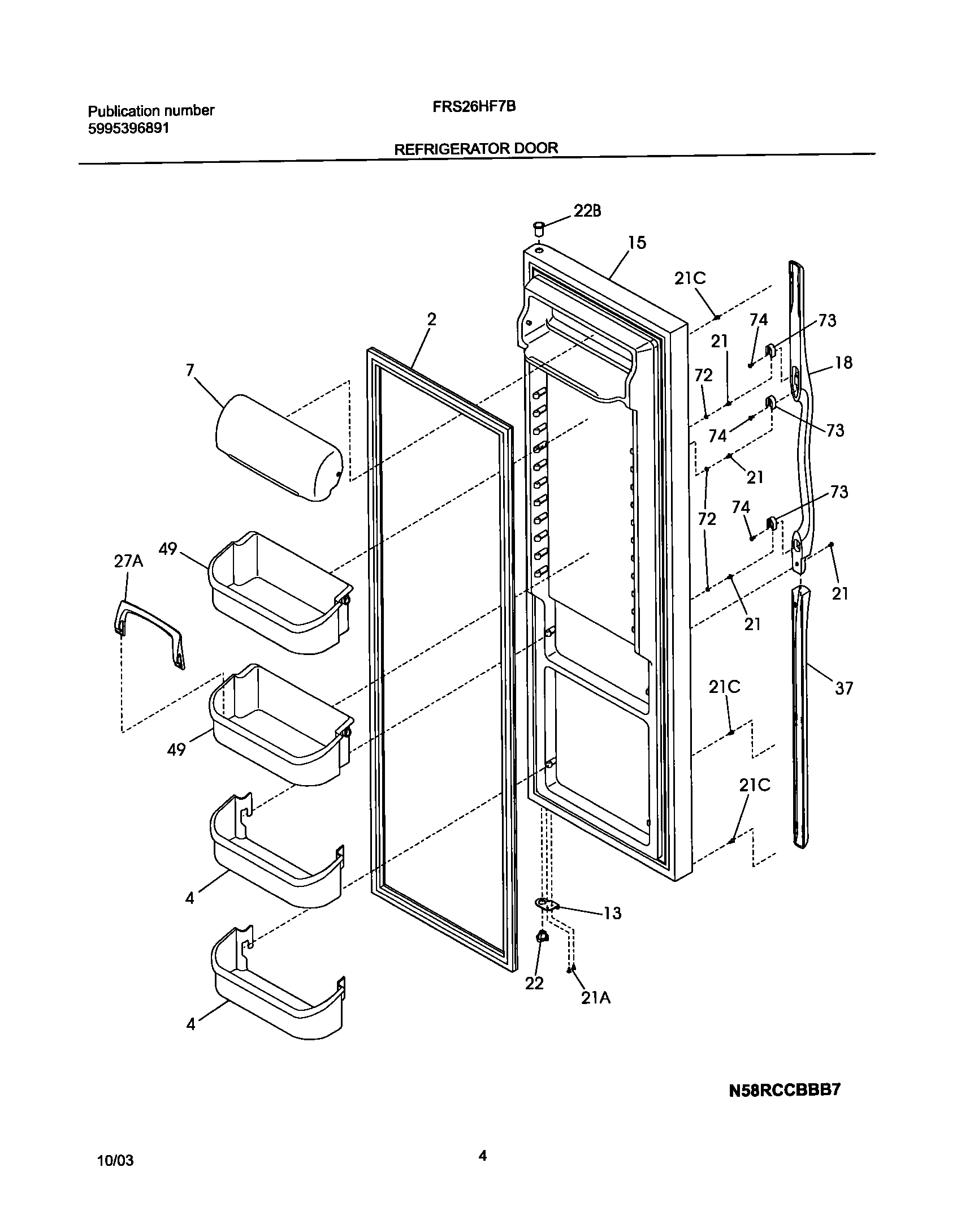
FRS26HF7BB3 05 – REFRIGERATOR DOOR