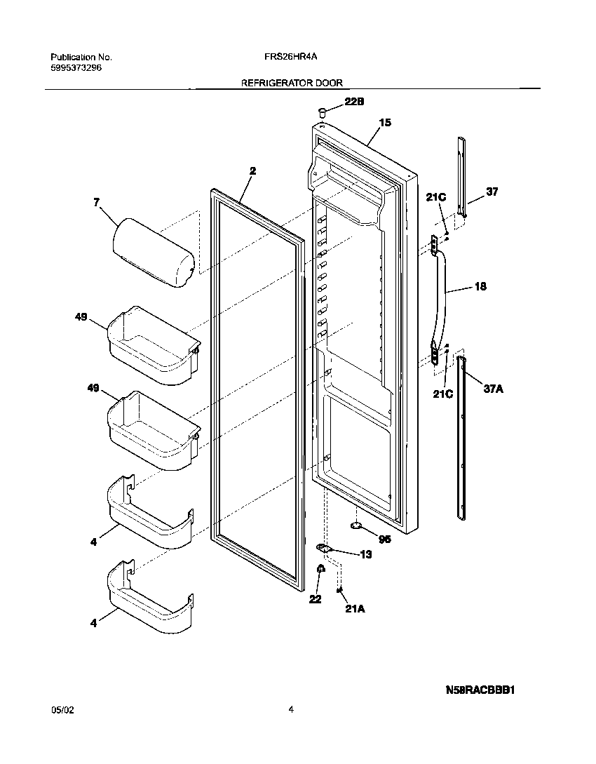
FRS26HR4AW3 05 – REFRIGERATOR DOOR