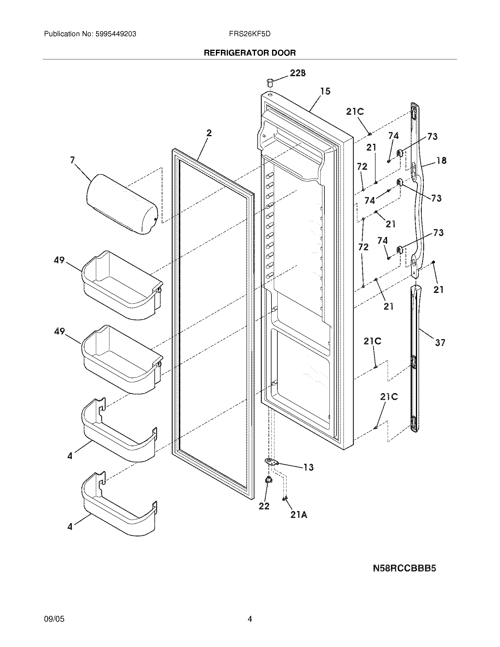
FRS26KF5DB9 05 – REFRIGERATOR DOORadmin2025-04-26T08:37:44+00:00FRS26KF5DB9 05 – REFRIGERATOR DOOR ProductsPositionProduct2241786013 Frigidaire Refrigerator Door Gasket4240323001 Frigidaire Refrigerator Bottom Pseudo Door Bin7WCI 240326203135303918455 Frigidaire Refrigerator Adjustable Hinge Kit15Panel-refr door,black ,complete assy18Handle-door,black21A5304455650 Frigidaire Refrigerator Screw21CWCI 24052130221218781101 Frigidaire Handle Screw22BBearing-hinge,upper22240328203 Frigidaire Refrigerator Door Hinge Bearing37WCI 24035920349240356401 Frigidaire Refrigerator White Gallon Bin Door Shelf72WCI 24042170173218396700 Frigidaire Door Handle Mounting Block74215503203 Frigidaire Refrigerator Door Handle Screw