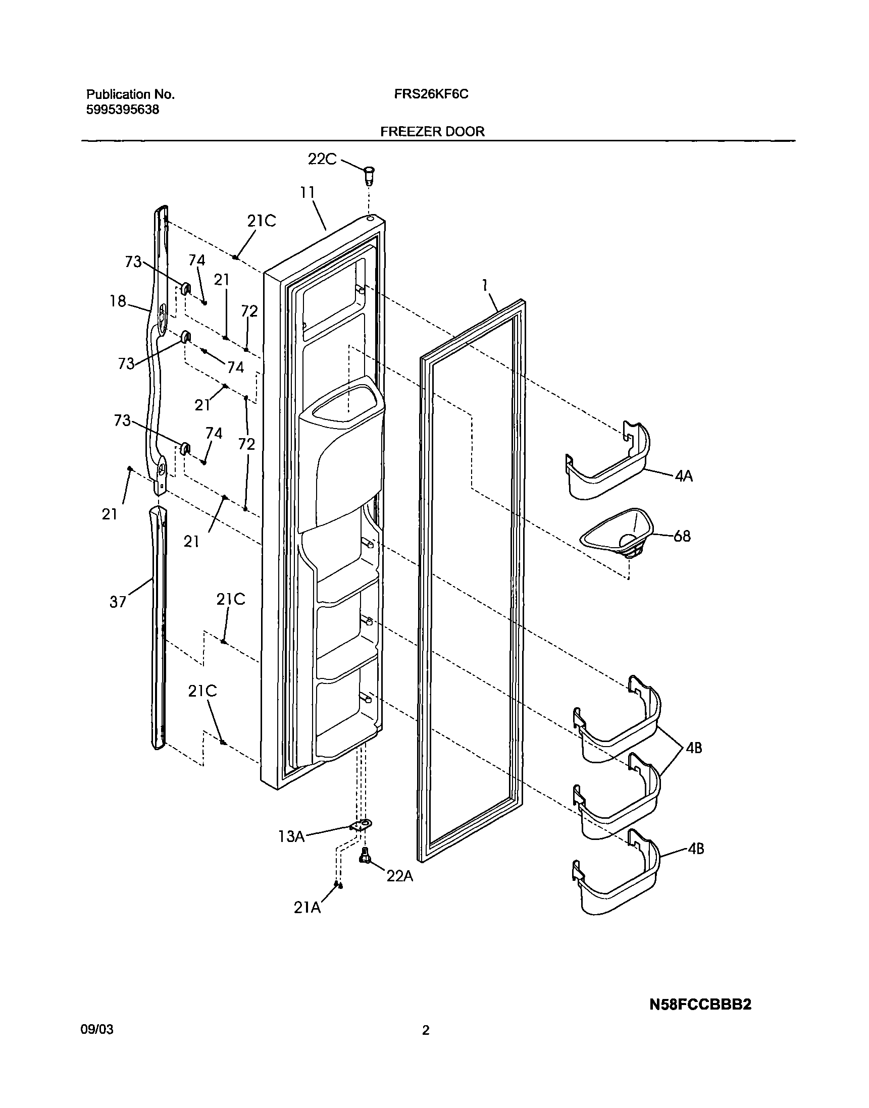
FRS26KF6CW1 03 – FREEZER DOORadmin2025-04-26T08:37:14+00:00FRS26KF6CW1 03 – FREEZER DOOR ProductsPositionProductNI5303918256 Frigidaire Refrigerator Heater Kit DispenserNIWCI 240552102NIWCI 240470401NI240545201 Frigidaire Refrigerator Elbow P-11GASKET-FRZR DOOR4A240334201 Frigidaire Refrigerator Upper Freezer Door Bin4B240351601 Frigidaire Freezer Door Bin11WCI 24045180313A5303918455 Frigidaire Refrigerator Adjustable Hinge Kit18Handle-door21CWCI 24052130221A5304455650 Frigidaire Refrigerator Screw21218781101 Frigidaire Handle Screw22A242000501 Frigidaire Refrigerator Hinge Bearing22C240328402 Frigidaire Refrigerator Bearing Hinge37WCI 24035920168WCI 24046770172WCI 24042170173218396700 Frigidaire Door Handle Mounting Block74215503203 Frigidaire Refrigerator Door Handle Screw