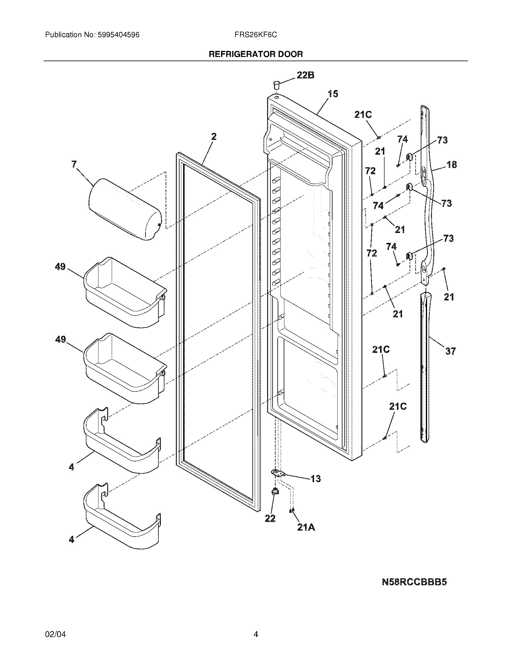
FRS26KF6CW4 05 – REFRIGERATOR DOORadmin2025-04-26T08:37:57+00:00FRS26KF6CW4 05 – REFRIGERATOR DOOR ProductsPositionProduct2241786001 Frigidaire Door Gasket4240323001 Frigidaire Refrigerator Bottom Pseudo Door Bin7WCI 240326203135303918455 Frigidaire Refrigerator Adjustable Hinge Kit15Panel-refr door,white ,complete assy18Handle-door21A5304455650 Frigidaire Refrigerator Screw21CWCI 24052130221218781101 Frigidaire Handle Screw22240328201 Frigidaire Refrigerator Hinge Bearing22BBearing-hinge,upper37WCI 24035920149240356401 Frigidaire Refrigerator White Gallon Bin Door Shelf72WCI 24042170173218396700 Frigidaire Door Handle Mounting Block74215503203 Frigidaire Refrigerator Door Handle Screw