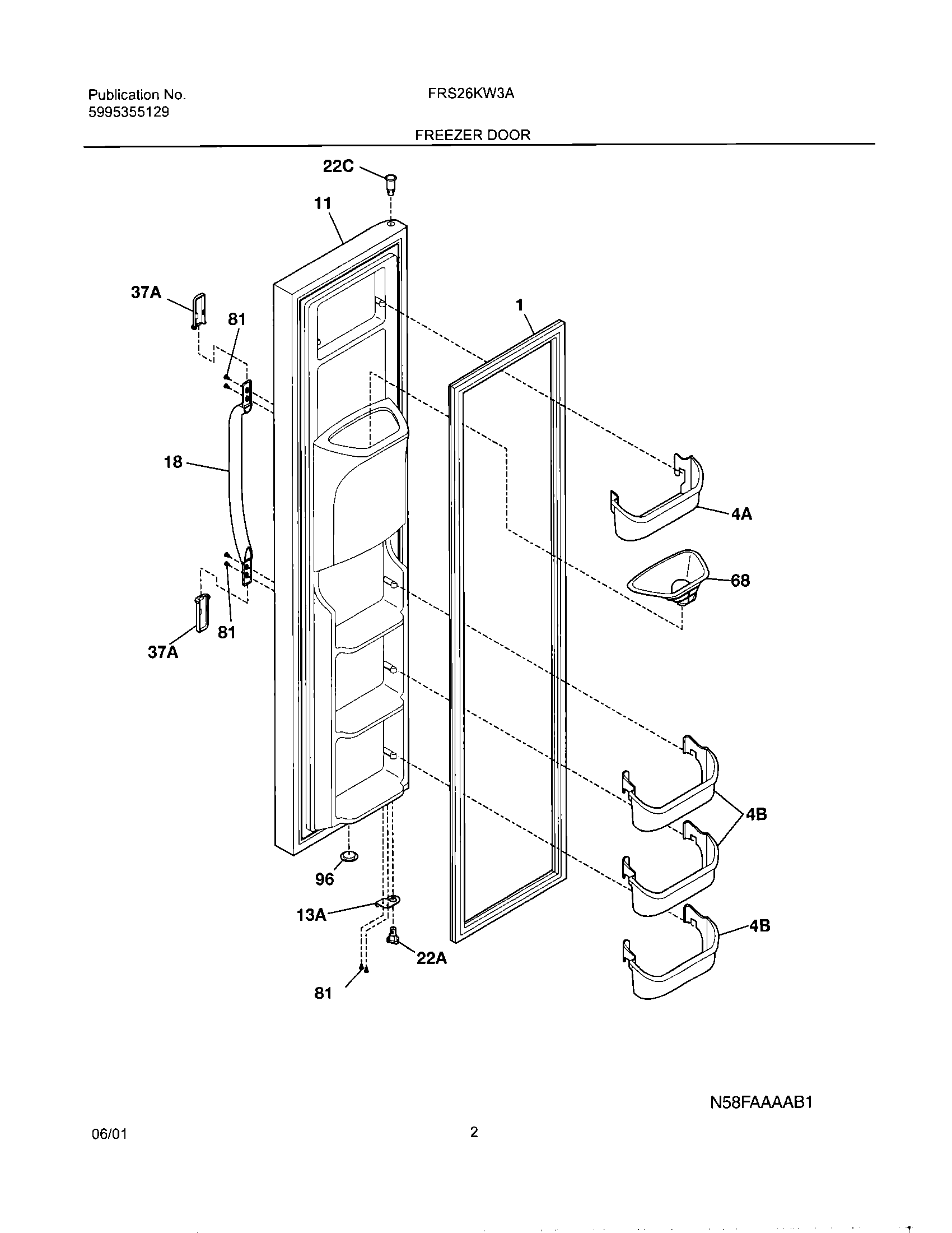
FRS26KW3AB0 03 – FREEZER DOOR