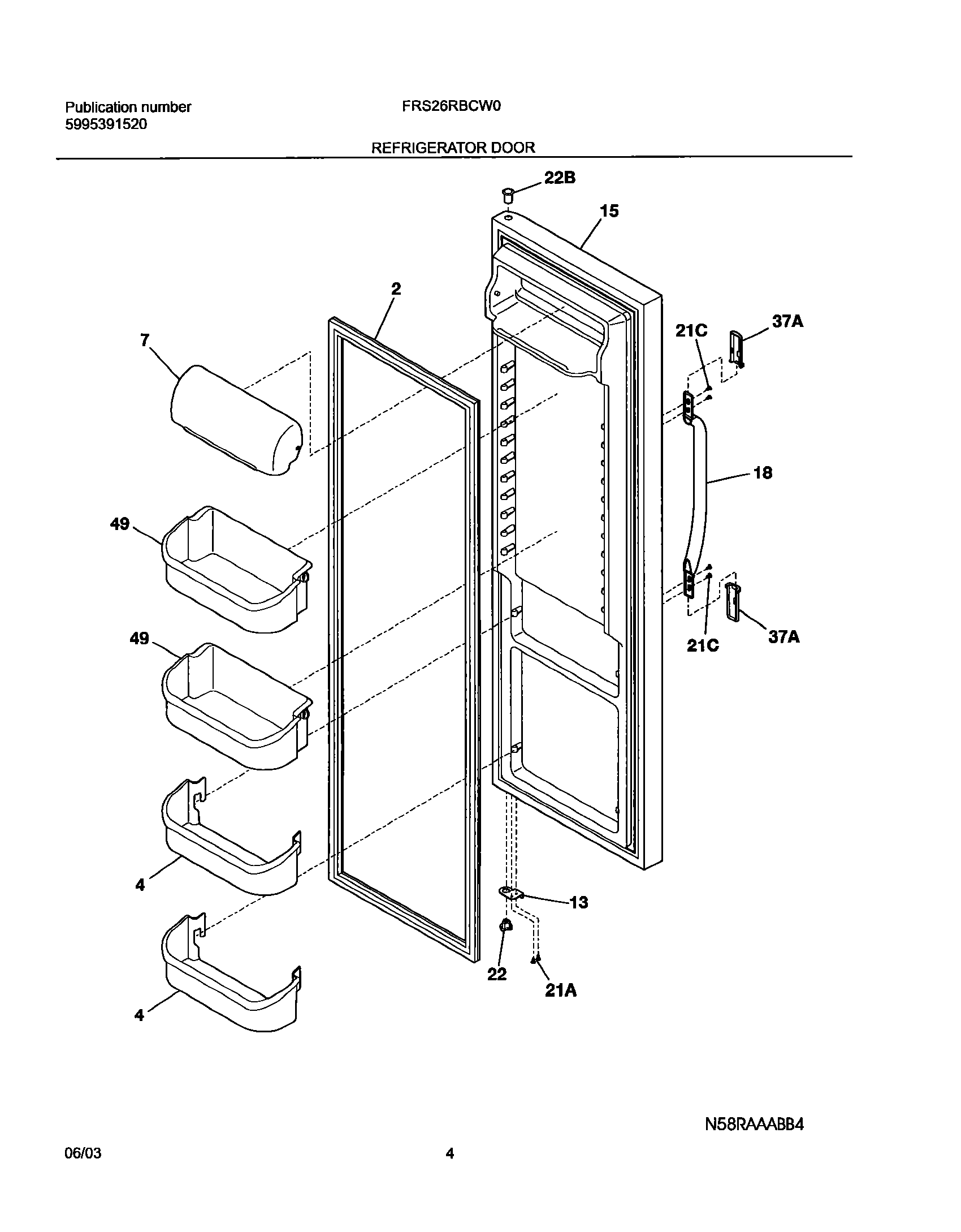
FRS26RBCW0 05 – REFRIGERATOR DOORadmin2025-04-26T08:37:21+00:00FRS26RBCW0 05 – REFRIGERATOR DOOR ProductsPositionProduct2241786001 Frigidaire Door Gasket4240323001 Frigidaire Refrigerator Bottom Pseudo Door Bin7WCI 240326203135303918455 Frigidaire Refrigerator Adjustable Hinge Kit15WCI 24045190218297311201 Frigidaire Freezer Door Handle21C218781101 Frigidaire Handle Screw21A5304455650 Frigidaire Refrigerator Screw22240328201 Frigidaire Refrigerator Hinge Bearing22BBearing-hinge,upper37AWCI 21867600437A215870629 Frigidaire Refrigerator Handle Trim P-149240356401 Frigidaire Refrigerator White Gallon Bin Door Shelf