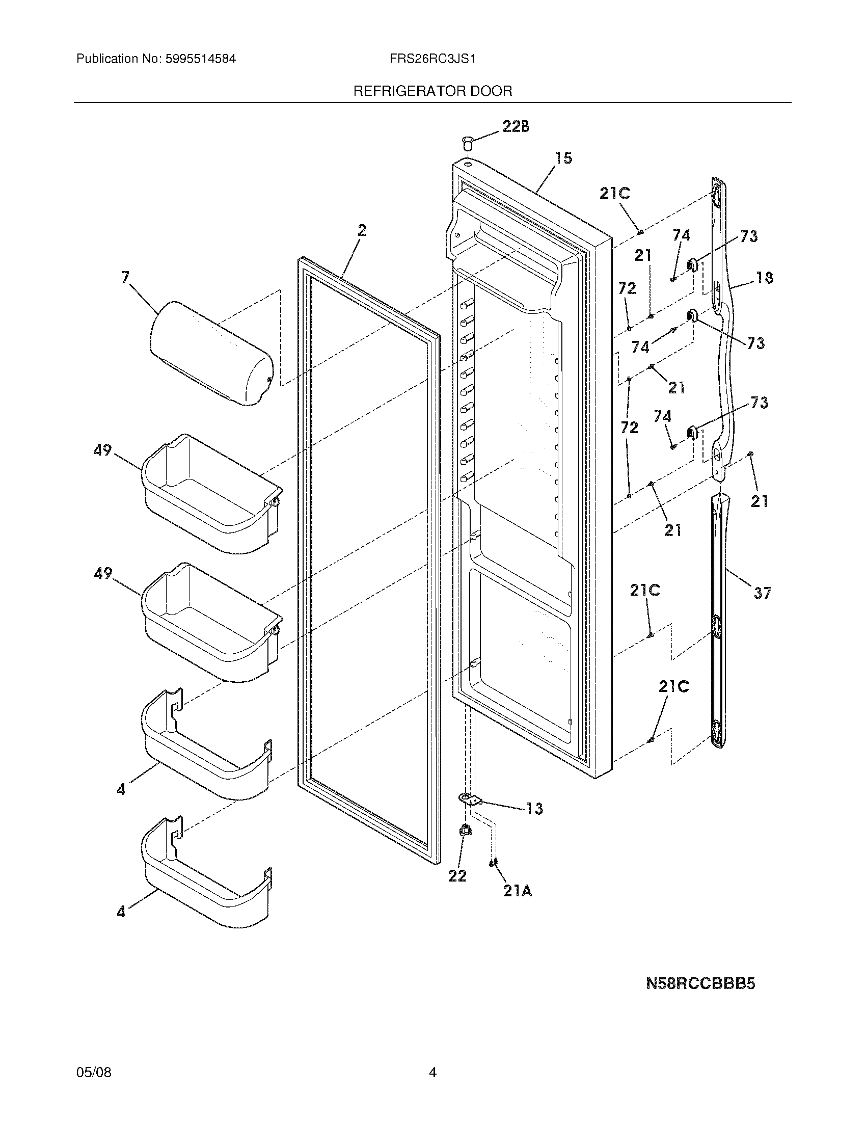
FRS26RC3JS1 05 – REFRIGERATOR DOORadmin2025-04-26T08:37:11+00:00FRS26RC3JS1 05 – REFRIGERATOR DOOR ProductsPositionProduct2241786013 Frigidaire Refrigerator Door Gasket4240323001 Frigidaire Refrigerator Bottom Pseudo Door Bin7WCI 24032620313240581905 Frigidaire Refrigerator Door Stop15WCI 24162933218WCI 24193430221218781101 Frigidaire Handle Screw21A240598402 Frigidaire Refrigerator Screw21CWCI 24052130422240328203 Frigidaire Refrigerator Door Hinge Bearing22B240328404 Frigidaire Refrigerator Upper Door Hinge Bearing37WCI 24192700249240356401 Frigidaire Refrigerator White Gallon Bin Door Shelf72WCI 24042170173218396700 Frigidaire Door Handle Mounting Block74WCI 215503204