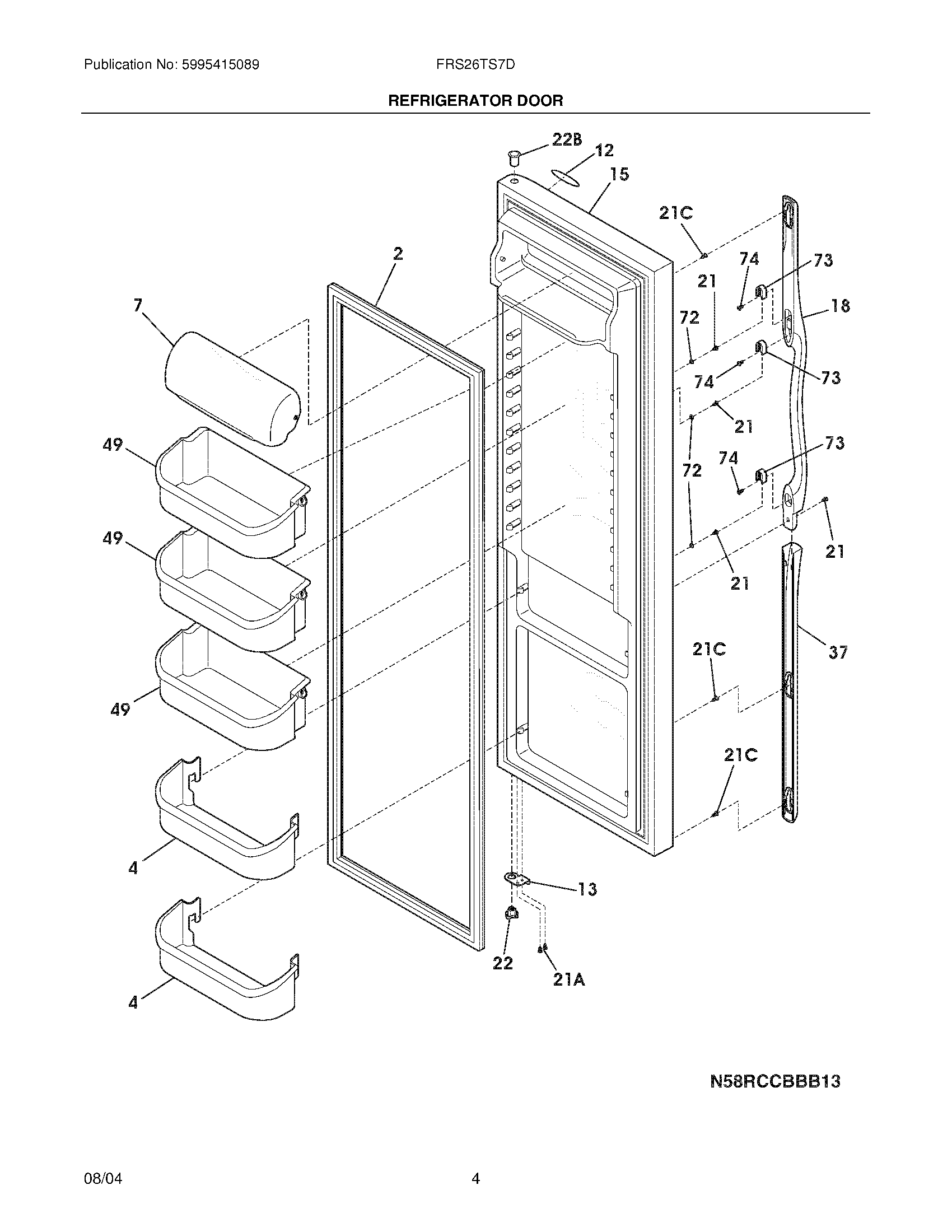
FRS26TS7DW1 05 – REFRIGERATOR DOORadmin2025-04-26T08:37:31+00:00FRS26TS7DW1 05 – REFRIGERATOR DOOR ProductsPositionProduct2241786001 Frigidaire Door Gasket4240323002 Frigidaire Bottom Clear Door Bin7WCI 24032620312WCI 240572601135303918455 Frigidaire Refrigerator Adjustable Hinge Kit15Door-refr,white ,complete assy18Handle-door21218781101 Frigidaire Handle Screw21CWCI 24052130221A5304455650 Frigidaire Refrigerator Screw22240328201 Frigidaire Refrigerator Hinge Bearing22BBearing-hinge,upper37WCI 24035920149240356402 Frigidaire Refrigerator Gallon Door Bin72WCI 24042170173218396700 Frigidaire Door Handle Mounting Block74215503203 Frigidaire Refrigerator Door Handle Screw