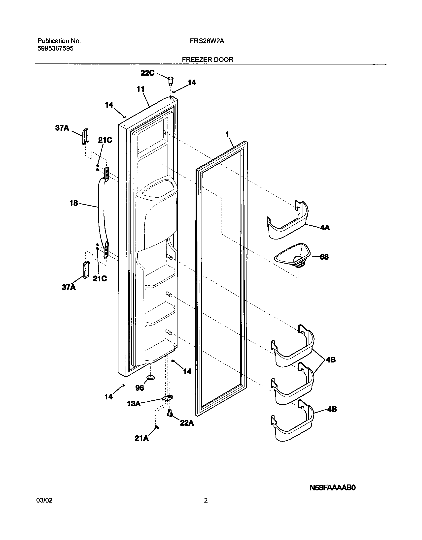
FRS26W2AQ2 03 – FREEZER DOOR