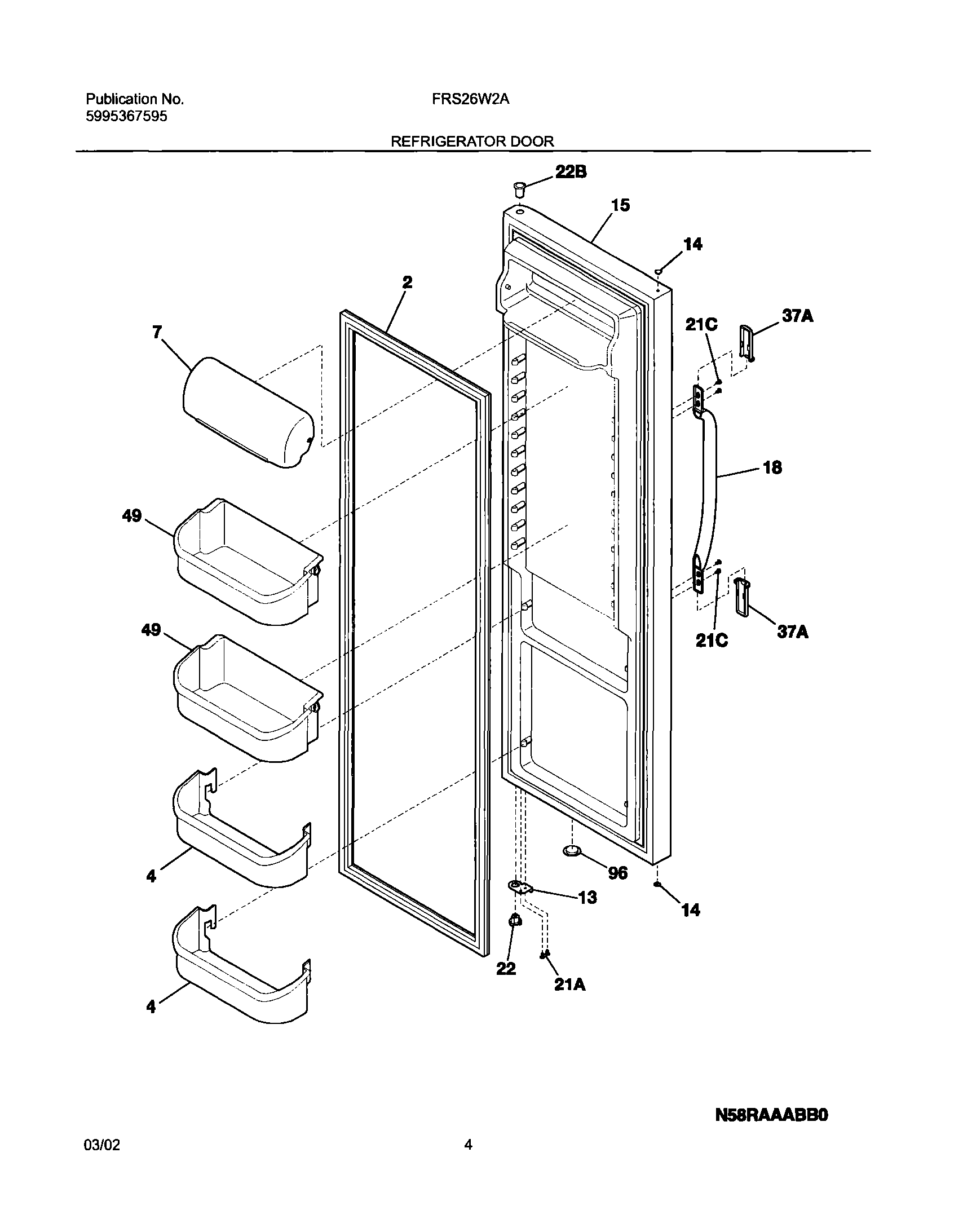
FRS26W2AQ2 05 – REFRIGERATOR DOORadmin2025-04-26T08:37:14+00:00FRS26W2AQ2 05 – REFRIGERATOR DOOR ProductsPositionProduct2241786001 Frigidaire Door Gasket4240323001 Frigidaire Refrigerator Bottom Pseudo Door Bin7WCI 240326203135303918455 Frigidaire Refrigerator Adjustable Hinge Kit15WCI 24045190618WCI 21876270321C218781101 Frigidaire Handle Screw21A5304455650 Frigidaire Refrigerator Screw22240328201 Frigidaire Refrigerator Hinge Bearing22BBearing-hinge,upper37AWCI 21587063637AWCI 21867600449240356401 Frigidaire Refrigerator White Gallon Bin Door Shelf96WCI 240345505