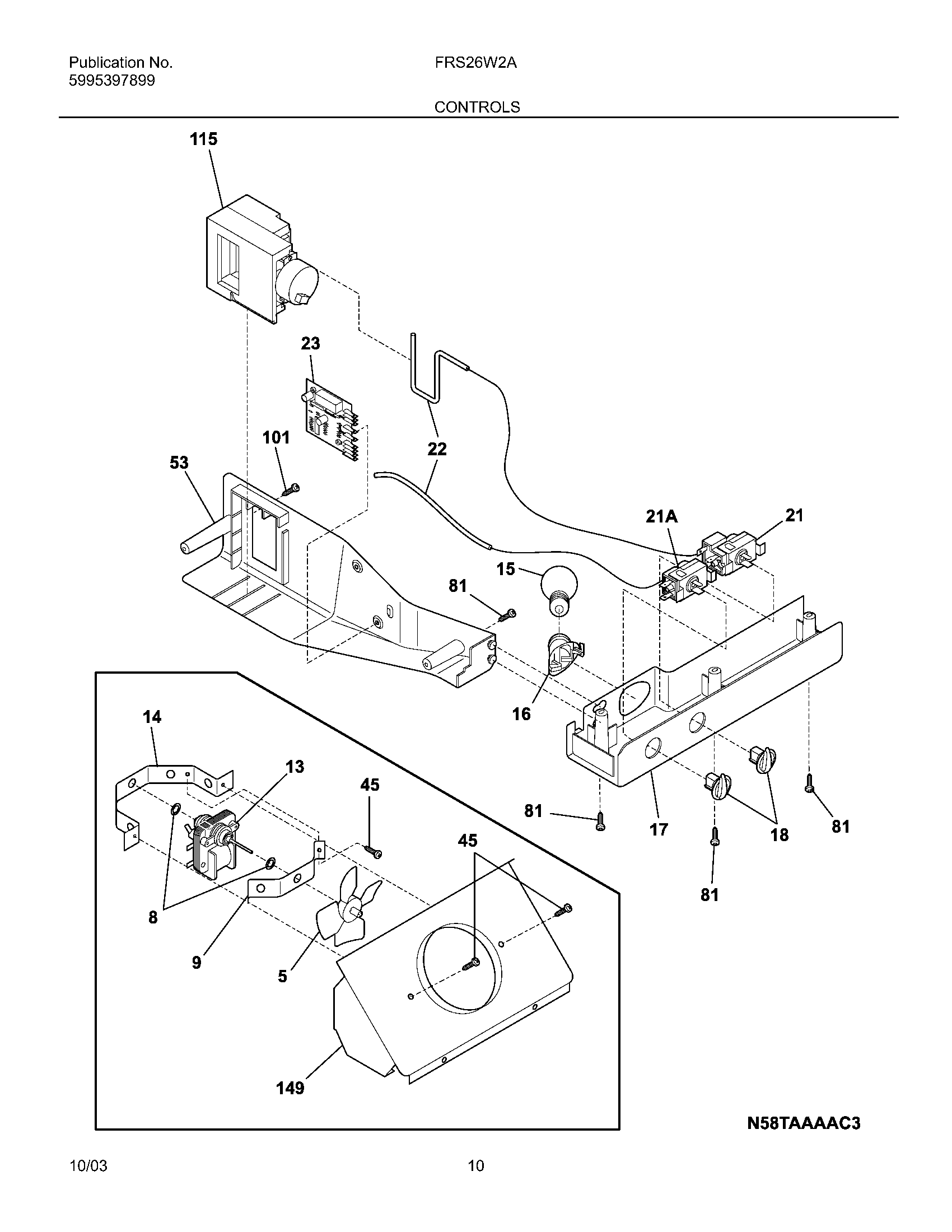
| NI | 5304455649 Frigidaire Refrigerator Screw |
| NI | 215474201 Frigidaire Refrigerator Washer |
| NI | 3205266 Frigidaire Refrigerator Edge Protector |
| NI | WCI 241537802 |
| 5 | 5308000010 Frigidaire Refrigerator Evaporator Fan Blade |
| 8 | G187559 Frigidaire Refrigerator Bushing |
| 9 | WCI 5303292396 |
| 13 | EVAP MOTOR KIT |
| 14 | 240438003 Frigidaire Refrigerator Bracket & Bushing |
| 15 | 316538904 Frigidaire Oven Lamp Light |
| 16 | 218906802 Frigidaire Light Lamp Socket |
| 17 | WCI 240383302 |
| 18 | Knob-control |
| 21 | 241537104 Frigidaire Refrigerator Thermostat |
| 21A | 5304496561 Frigidaire Refrigerator Cold Temperature Control Thermostat |
| 22 | 218660704 Frigidaire Refrigerator Tube-Insulator |
| 23 | WCI 241508001 |
| 45 | 5304455651 Frigidaire Refrigerator Screw |
| 53 | 240369501 Frigidaire Refrigerator Control Box |
| 81 | 5304455650 Frigidaire Refrigerator Screw |
| 101 | 218493101 Frigidaire Refrigerator Screw |
| 115 | 241600902 Frigidaire Refrigerator Damper Control Assembly |
| 149 | 5304444980 Frigidaire Refrigerator Fan Orifice Shroud |