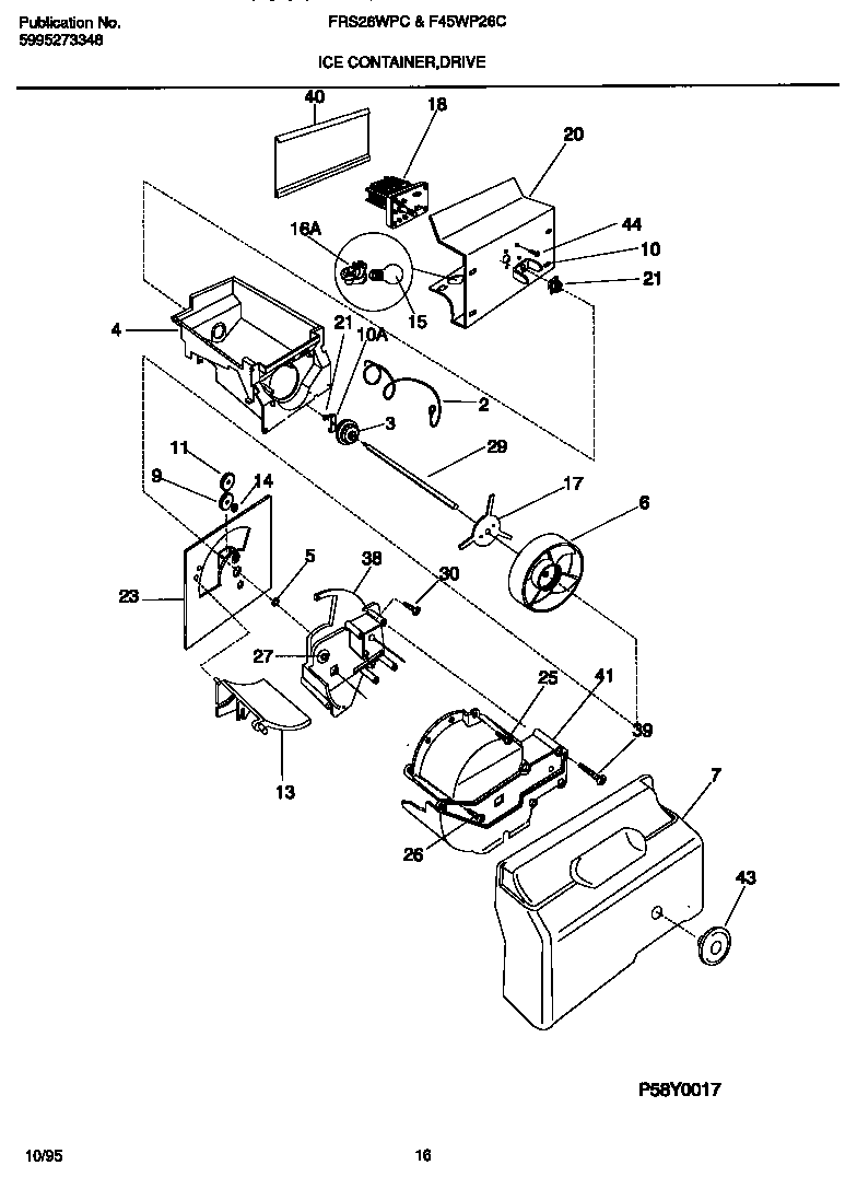
FRS26WPCD2 09 – ICE CONTAINER, DRIVEadmin2025-04-26T08:38:19+00:00FRS26WPCD2 09 – ICE CONTAINER, DRIVE ProductsPositionProduct*78854WCI 2157817002WCI 2182325003WCI 2182323004BLABEL-ICE CONTAINER (NOT ILLUSTRATED)4AWCI 2182168005WCI 2157481056WCI 2157528007WCI 2154216039WCI 21541970010WCI 21823280010241726501 Frigidaire Refrigerator Drive Bar11WCI 21575520013WCI 21828520014WCI 21541990015316538904 Frigidaire Oven Lamp Light16218906802 Frigidaire Light Lamp Socket17WCI 21575480018BHARNESS-WIRING, AUGER MOTOR (NOT ILLUSTRATED)18A5304462594 Frigidaire Refrigerator Motor-Auger20WCI 21528530123CSTUD (NOT ILLUSTRATED)23AWCI 21575530023BRING-RETAINER (NOT ILLUSTRATED)25WCI 21542140026215503203 Frigidaire Refrigerator Door Handle Screw27WCI 21574840029WCI 21575750130WCI 21575730038WCI 21827010039WCI 21575700040WCI 21536300041WCI 21827020043WCI 21563500044WCI 218359200