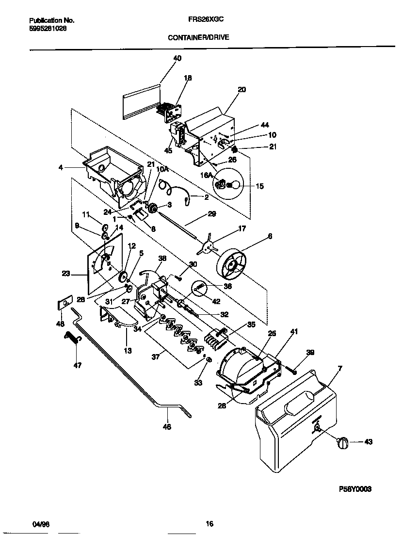
FRS26XGCB2 09 – CONTAINER/DRIVE