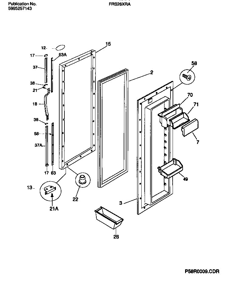
FRS26XRAD2 03 – REFRIGERATOR DOOR SECTIONadmin2025-04-26T08:38:19+00:00FRS26XRAD2 03 – REFRIGERATOR DOOR SECTION ProductsPositionProduct*78205INSULATION2WCI 2157343043WCI 2154343017WCI 21528750512WCI 21500860213WCI 530328952215WCI 530391748918WCI 21802520221AWCI 21521860021218843801 Frigidaire Refrigerator Screw22WCI 530328932026CONTAINER-EGG37WCI 21586700537ATRIM, HANDLE, 29.84``, DARK PUTTY, LOWER, W/CHROME BAND,49WCI 215398905585304455651 Frigidaire Refrigerator Screw70WCI 21527810371WCI 215288302