| *91571 | WCI 5303322647 |
| *91568 | SCREW-ROLLER MTG,SPCL IND HEX HD, 5/16-18(23) X 7/8 |
| *91564 | WCI 215314301 |
| *91563 | SUPPORT-AIR DUCT CVR,1.83`` LONG |
| *91562 | NUT, ``U`` TYPE, NO. 8-15(A), FAN MOTOR MOUNT (NOT ILLUSTRATED) |
| *91574 | TOUCH, UP PAINT, ALMOND (NI) |
| *91569 | WCI 5303289036 |
| *91566 | WCI 218979701 |
| *91572 | WCI 218902101 |
| *91565 | WCI 218871201 |
| *91567 | 5304500407 Frigidaire Refrigerator Shelf Mounting Grommet |
| *91570 | WCI 5303289037 |
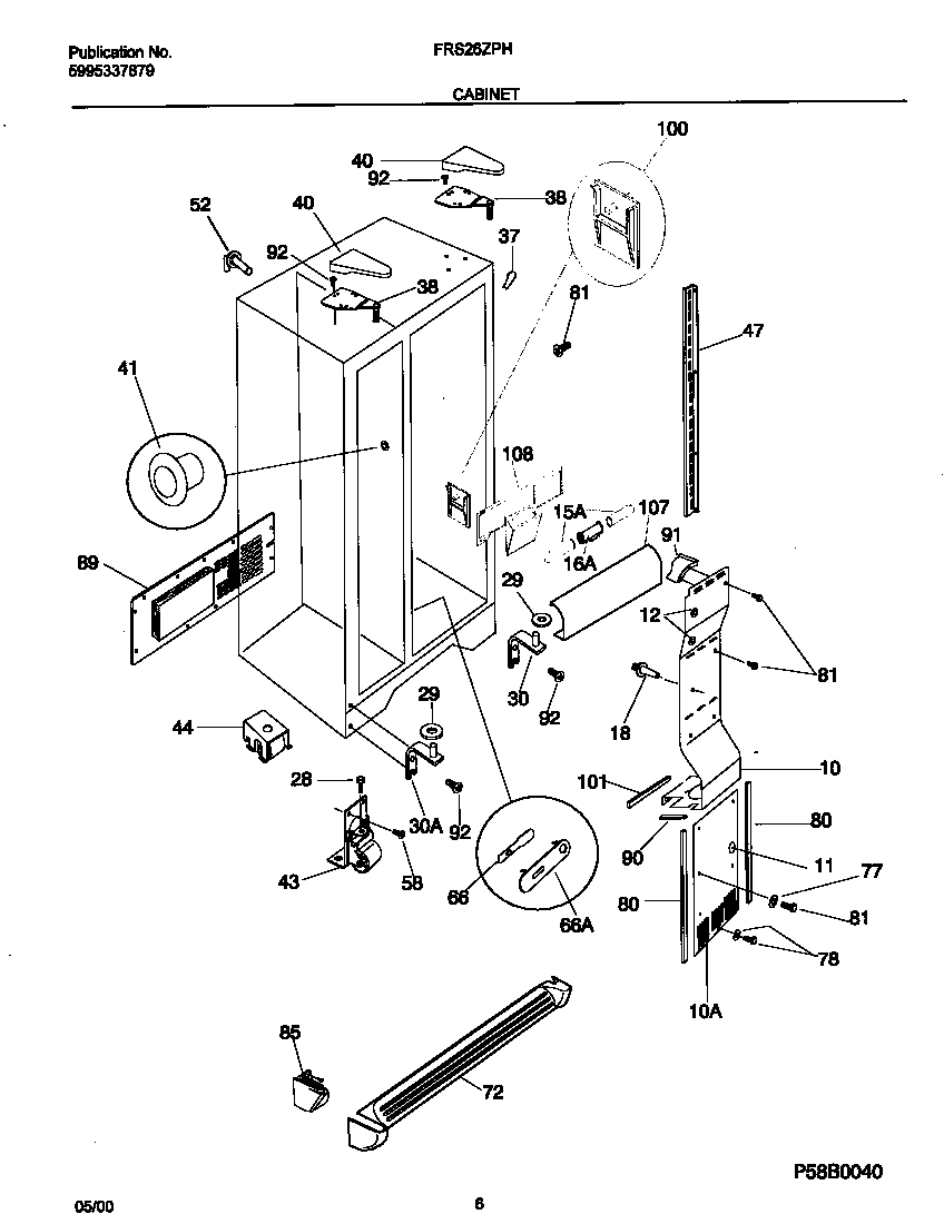
| 10 | WCI 215637602 |
| 10B | WASHER, EXT TOOTH LOCK, NO. 10 (NON-ILLUSTRATED) |
| 10A | WCI 215637401 |
| 11 | 5303208309 Frigidaire Refrigerator Plug Hole |
| 12 | 5303001147 Frigidaire Refrigerator Plug-Harness Hole |
| 15 | WCI 218708700 |
| 16 | WCI 5303299157 |
| 18 | WCI 5303289043 |
| 28 | WCI 5303289062 |
| 29 | WCI 215598900 |
| 30B | WCI 218979601 |
| 30 | WCI 215008900 |
| 30A | WCI 215009100 |
| 37 | WCI 5303321082 |
| 38A | WCI 218215250 |
| 38B | WCI 218215252 |
| 40 | WCI 5303318774 |
| 41 | 5304509705 Frigidaire Refrigerator Grommet |
| 43 | WCI 218615300 |
| 44 | WCI 218738300 |
| 47 | WCI 218659500 |
| 52 | TUBE-WATER,ICE MOLD FILL ,ELBOW |
| 66 | WCI 215050201 |
| 66 | WCI 218171301 |
| 72 | WCI 218359605 |
| 77 | WASHER-NYLON,3/16 X 5/8 OD |
| 78 | 5304455651 Frigidaire Refrigerator Screw |
| 80 | WCI 218249802 |
| 81 | 5304455650 Frigidaire Refrigerator Screw |
| 85 | WCI 218922704 |
| 89 | WCI 218871501 |
| 90 | WCI 215022602 |
| 91 | WCI 218964701 |
| 92 | 241710601 Frigidaire Refrigerator Screw |
| 100 | SUPPORT-PAN COVER |
| 101B | WCI 218663103 |
| 101A | WCI 215305702 |
| 107 | WCI 218835901 |
| 108 | WCI 218834202 |