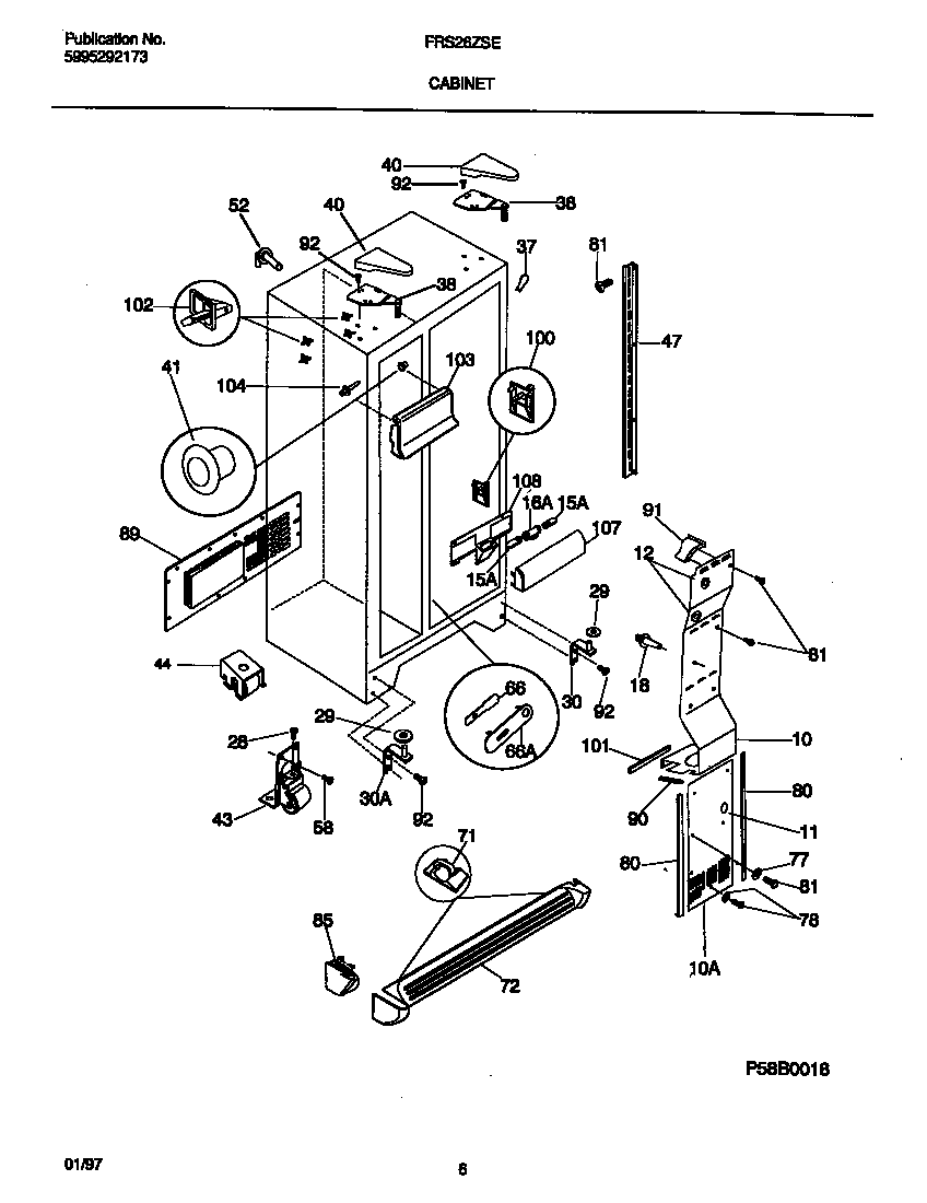
FRS26ZSEW3 04 – CABINET