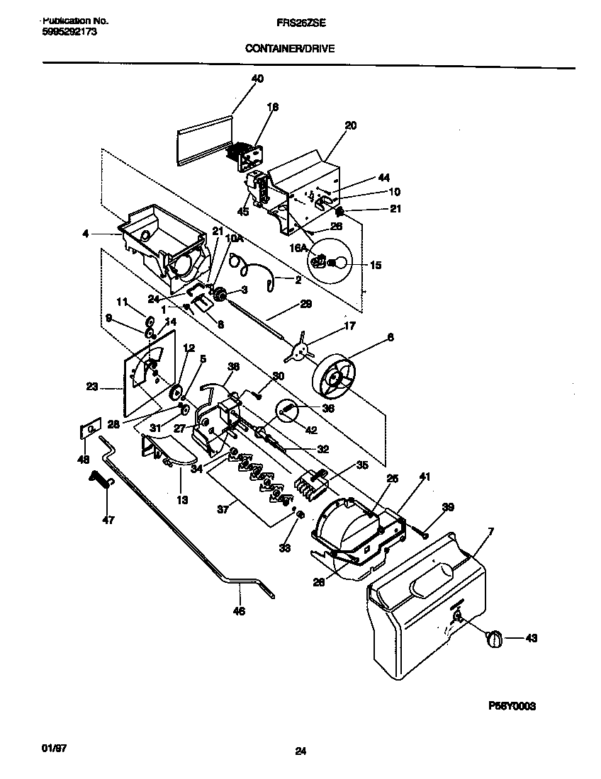
FRS26ZSEW3 13 – CONTAINER/DRIVE