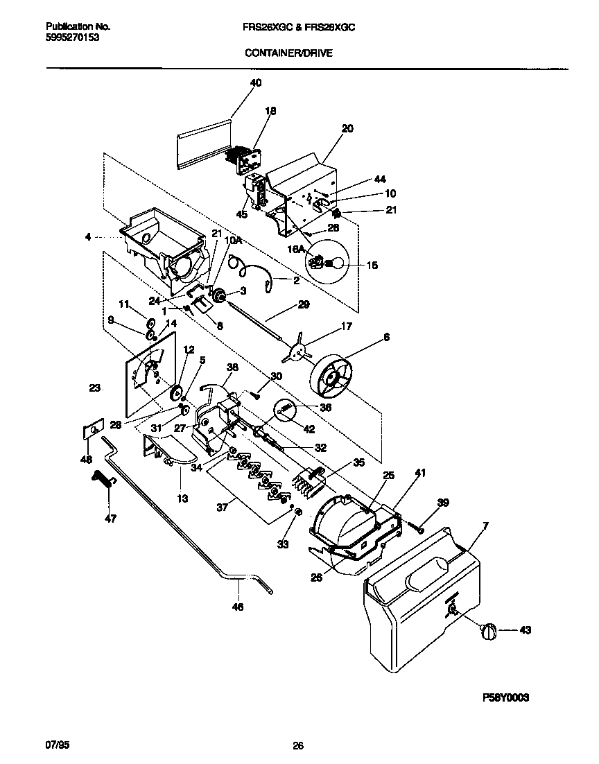
FRS28XGCD1 10 – CONTAINER/DRIVEadmin2025-04-26T08:36:24+00:00FRS28XGCD1 10 – CONTAINER/DRIVE ProductsPositionProduct*17370WCI 2157817001WCI 2155713002WCI 2182325003WCI 2182323004ALABEL-ICE CONTAINER (NOT ILLUSTRATED)4WCI 2182168005WCI 2157481056WCI 2157528007WCI 2154216138WCI 2155712009WCI 21541970010241726501 Frigidaire Refrigerator Drive Bar10AWCI 21823280011WCI 21575520012WCI 21542040013WCI 21828520014WCI 21541990015316538904 Frigidaire Oven Lamp Light16A218906802 Frigidaire Light Lamp Socket17WCI 21575480018AWCI 218329300185304462594 Frigidaire Refrigerator Motor-Auger20WCI 21528530223WCI 21575530023ARING-RETAINER (NOT ILLUSTRATED)23BSTUD (NOT ILLUSTRATED)24WCI 21557140025WCI 21542140026215503203 Frigidaire Refrigerator Door Handle Screw27WCI 21574840028WCI 21575510029WCI 21575750130WCI 21575730031WCI 21575740032WCI 21574750132ARING-SNAP (NOT ILLUSTRATED)33WCI 21574820034WCI 21574830035WCI 21575350036WCI 21575670037CBLADE-CRUSHER, NO. 3 (NOT ILLUSTRATED)37ISPACER, (4) (NOT ILLUSTRATED)37HSPACER, (2) (NOT ILLUSTRATED)37GRING-SNAP (NOT ILLUSTRATED)37FSHAFT-CRUSHER (NOT ILLUSTRATED)37EBLADE-CRUSHER, NO. 5 (NOT ILLUSTRATED)37DBLADE-CRUSHER, NO. 4 (NOT ILLUSTRATED)37WCI 21575610037ABLADE-CRUSHER, NO. 1 (NOT ILLUSTRATED)37BBLADE-CRUSHER, NO. 2 (NOT ILLUSTRATED)38WCI 21827010039WCI 21575700040WCI 21536300041WCI 21827020042WCI 21575600043ASPRING-KNOB (NOT ILLUSTRATED)43WCI 21575500344WCI 21835920045WCI 21593590146WCI 21828530147WCI 21525480048WCI 215898200