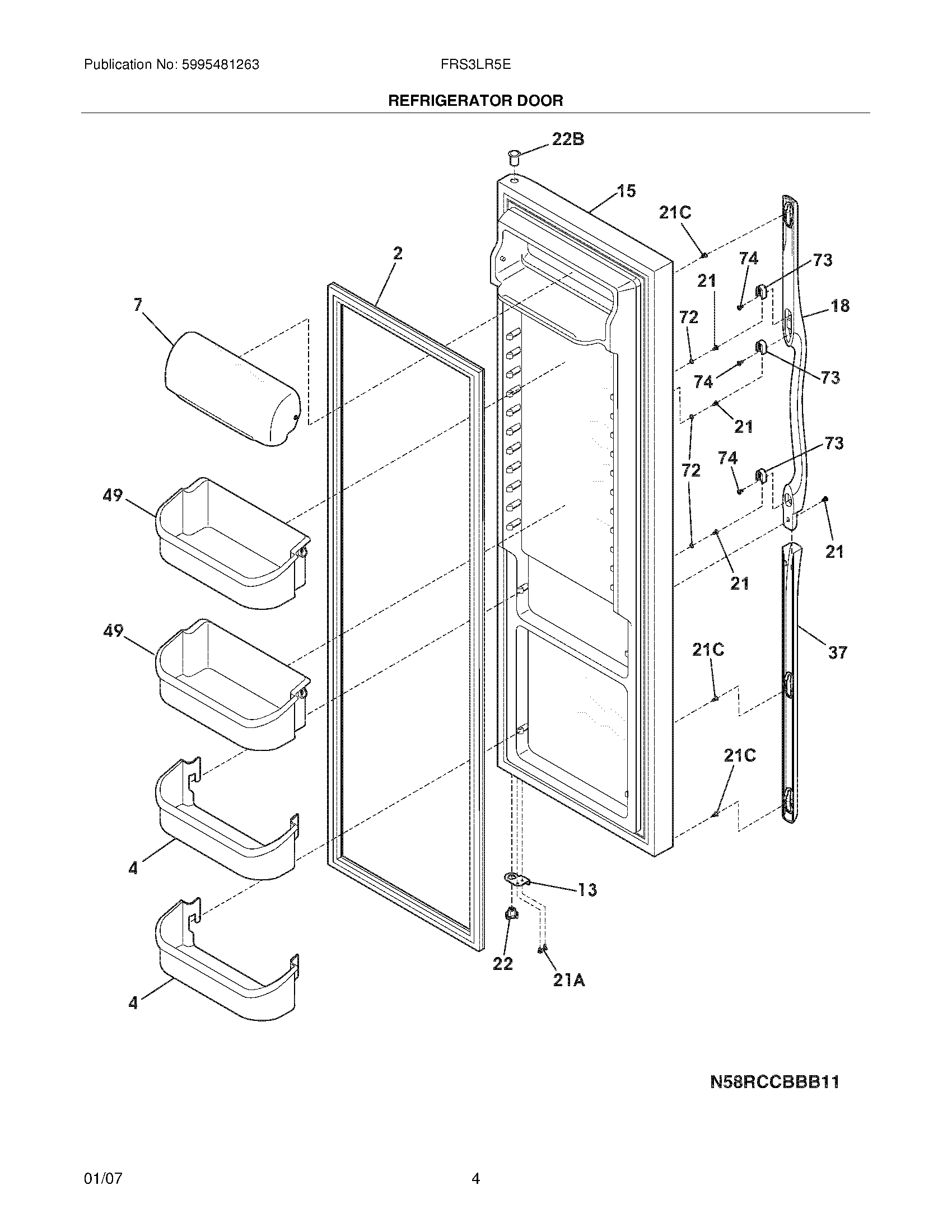
FRS3LR5ES1 05 – REFRIGERATOR DOORadmin2025-04-26T08:36:45+00:00FRS3LR5ES1 05 – REFRIGERATOR DOOR ProductsPositionProductNIWCI 2184909012GASKET-DOOR4240363701 Frigidaire 2 Liter Door Shelf Bin7240338313 Frigidaire Refrigerator Dairy Door13240581905 Frigidaire Refrigerator Door Stop15WCI 24153452918WCI 24171170221A240598402 Frigidaire Refrigerator Screw21218781101 Frigidaire Handle Screw21CWCI 24052130422240328203 Frigidaire Refrigerator Door Hinge Bearing22B240328404 Frigidaire Refrigerator Upper Door Hinge Bearing37WCI 24171160249240324501 Frigidaire Bin Door Shelf72WCI 24042170173218396700 Frigidaire Door Handle Mounting Block74WCI 215503204