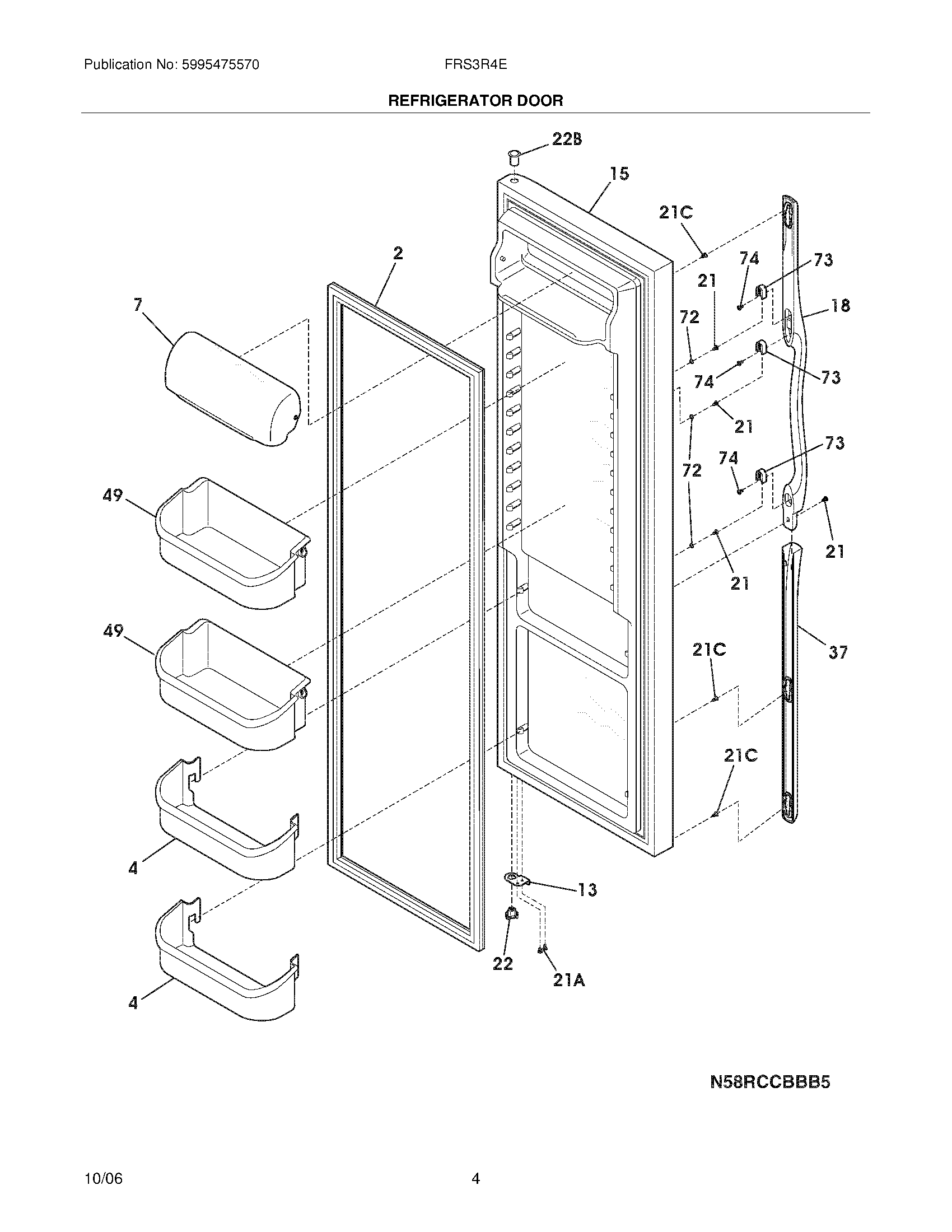
FRS3R4EQA 05 – REFRIGERATOR DOORadmin2025-04-26T08:35:09+00:00FRS3R4EQA 05 – REFRIGERATOR DOOR ProductsPositionProduct2GASKET-DOOR4240363701 Frigidaire 2 Liter Door Shelf Bin7240338313 Frigidaire Refrigerator Dairy Door13WCI 24058190315WCI 24045191718WCI 24171170321CWCI 24052130421218781101 Frigidaire Handle Screw21A240598402 Frigidaire Refrigerator Screw22240328201 Frigidaire Refrigerator Hinge Bearing22B240328402 Frigidaire Refrigerator Bearing Hinge37WCI 24171160349240324501 Frigidaire Bin Door Shelf72WCI 24042170173218396700 Frigidaire Door Handle Mounting Block74WCI 215503204