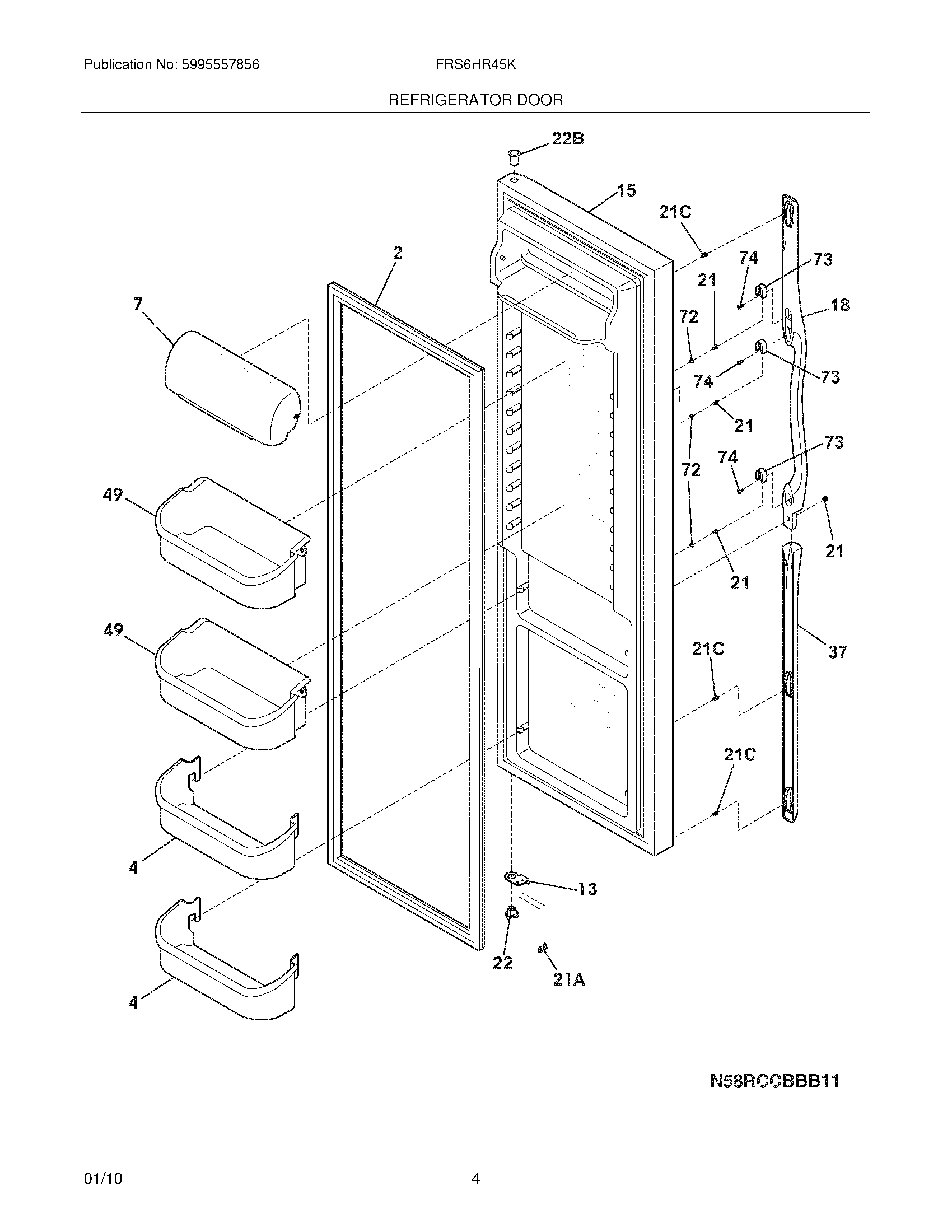
FRS6HR45KS2 05 – REFRIGERATOR DOORadmin2025-04-26T08:35:45+00:00FRS6HR45KS2 05 – REFRIGERATOR DOOR ProductsPositionProductNIWCI 2184909012241786013 Frigidaire Refrigerator Door Gasket4240323001 Frigidaire Refrigerator Bottom Pseudo Door Bin7WCI 24032620313240581905 Frigidaire Refrigerator Door Stop15WCI 24153453218WCI 24193430221A240442708 Frigidaire Refrigerator Screw-#10-32 X 3/421CWCI 24052130421218781101 Frigidaire Handle Screw22242015302 Frigidaire Refrigerator Bearing Hinge22B240328404 Frigidaire Refrigerator Upper Door Hinge Bearing37WCI 24171160237WCI 24192700249240356402 Frigidaire Refrigerator Gallon Door Bin72WCI 24042170173218396700 Frigidaire Door Handle Mounting Block74WCI 215503204