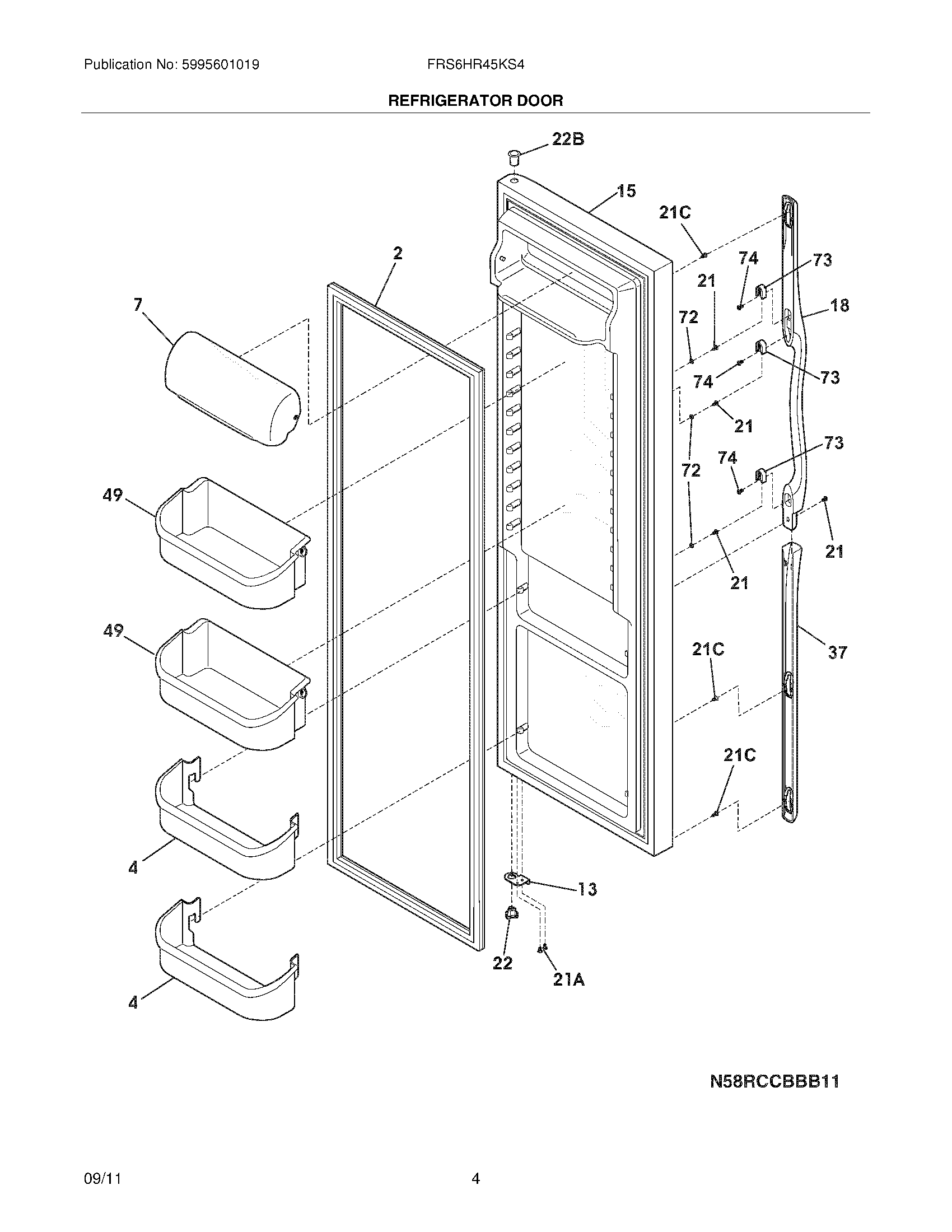
FRS6HR45KS4 05 – REFRIGERATOR DOOR