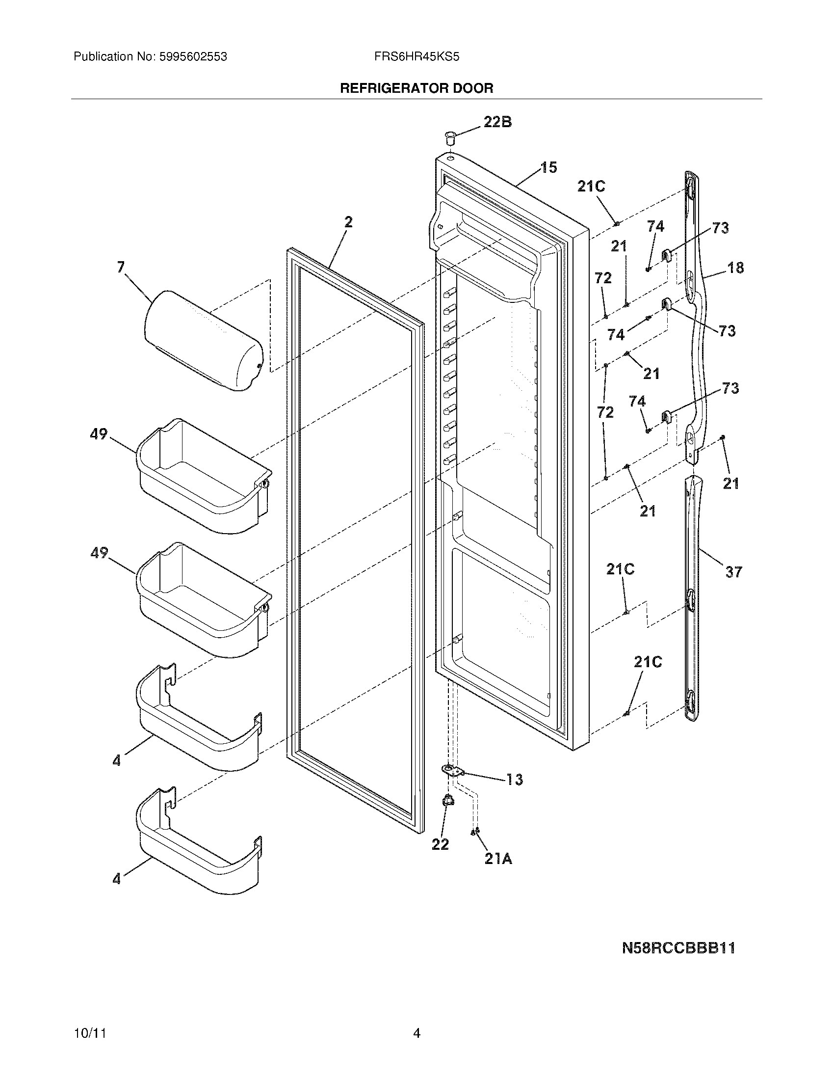
FRS6HR45KS5 05 – REFRIGERATOR DOOR