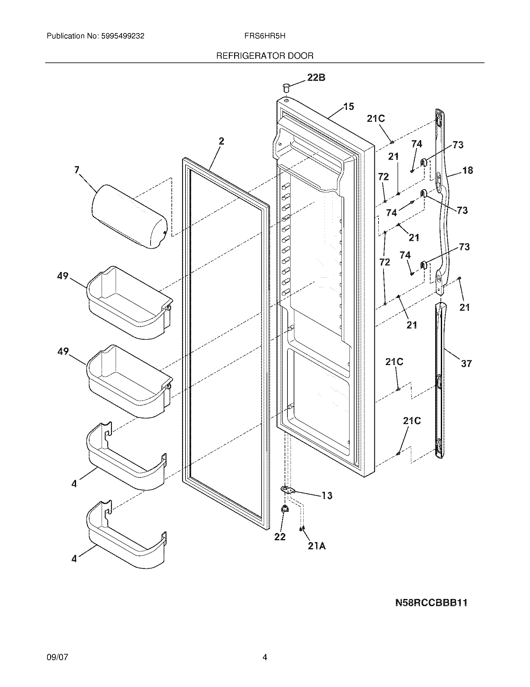
FRS6HR5HSB6 05 – REFRIGERATOR DOOR