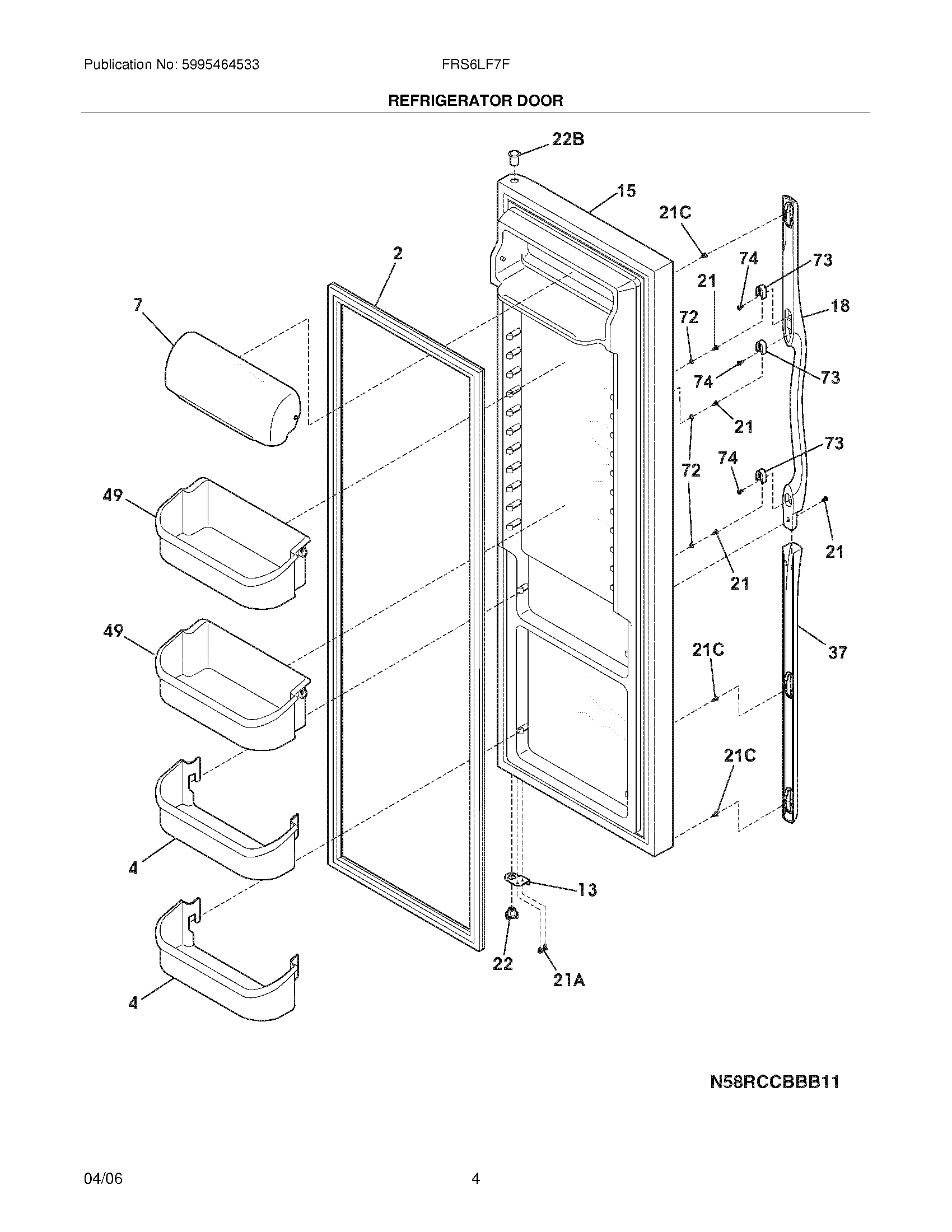
FRS6LF7FS2 05 – REFRIGERATOR DOORadmin2025-04-26T08:35:24+00:00FRS6LF7FS2 05 – REFRIGERATOR DOOR ProductsPositionProduct2241786013 Frigidaire Refrigerator Door Gasket4240323001 Frigidaire Refrigerator Bottom Pseudo Door Bin7WCI 24032620313240581905 Frigidaire Refrigerator Door Stop15WCI 24153454318Handle-door,black21CWCI 24052130221A240598402 Frigidaire Refrigerator Screw21218781101 Frigidaire Handle Screw22B240328404 Frigidaire Refrigerator Upper Door Hinge Bearing22240328203 Frigidaire Refrigerator Door Hinge Bearing37WCI 24035920349240356402 Frigidaire Refrigerator Gallon Door Bin72WCI 24042170173218396700 Frigidaire Door Handle Mounting Block74215503203 Frigidaire Refrigerator Door Handle Screw