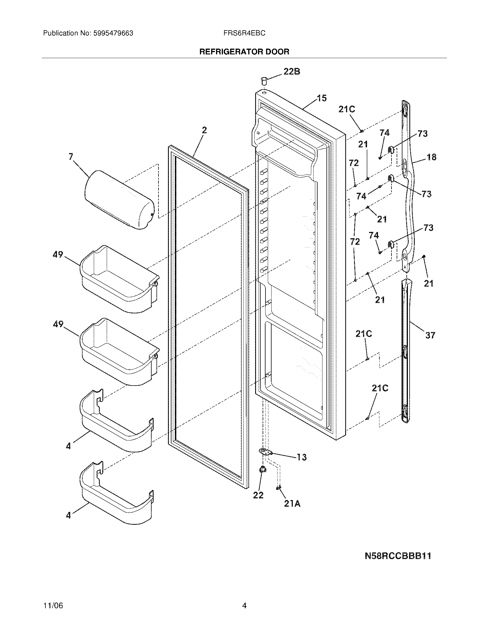
FRS6R4EBC 05 – REFRIGERATOR DOORadmin2025-04-26T08:42:14+00:00FRS6R4EBC 05 – REFRIGERATOR DOOR ProductsPositionProduct2241786013 Frigidaire Refrigerator Door Gasket4240323001 Frigidaire Refrigerator Bottom Pseudo Door Bin7WCI 24032620313240581905 Frigidaire Refrigerator Door Stop15Panel-refr door,black ,complete assy18WCI 24171170221A240598402 Frigidaire Refrigerator Screw21CWCI 24052130421218781101 Frigidaire Handle Screw22240328203 Frigidaire Refrigerator Door Hinge Bearing22B240328404 Frigidaire Refrigerator Upper Door Hinge Bearing37WCI 24171160249240356401 Frigidaire Refrigerator White Gallon Bin Door Shelf72WCI 24042170173218396700 Frigidaire Door Handle Mounting Block74WCI 215503204