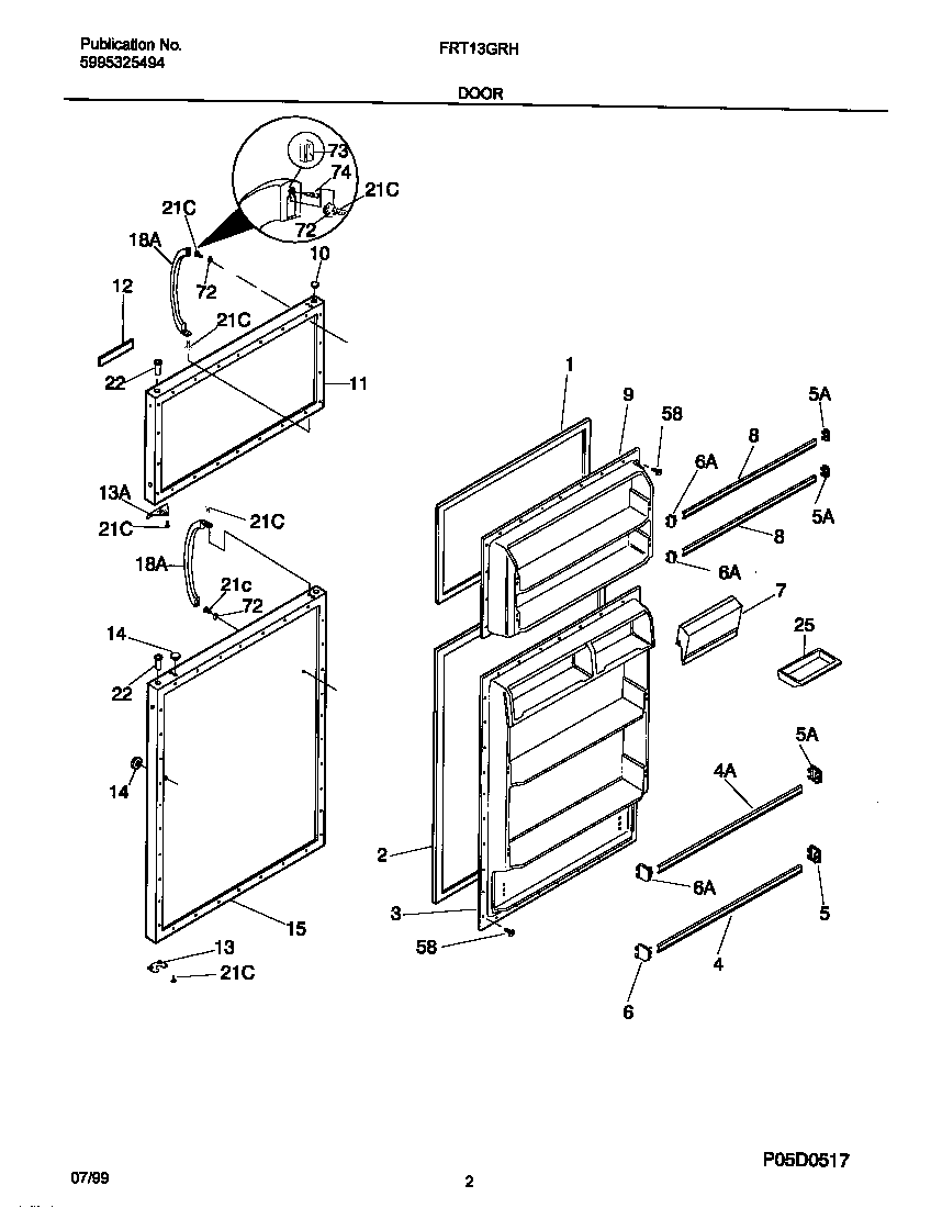
FRT13GRHW0 02 – DOORS