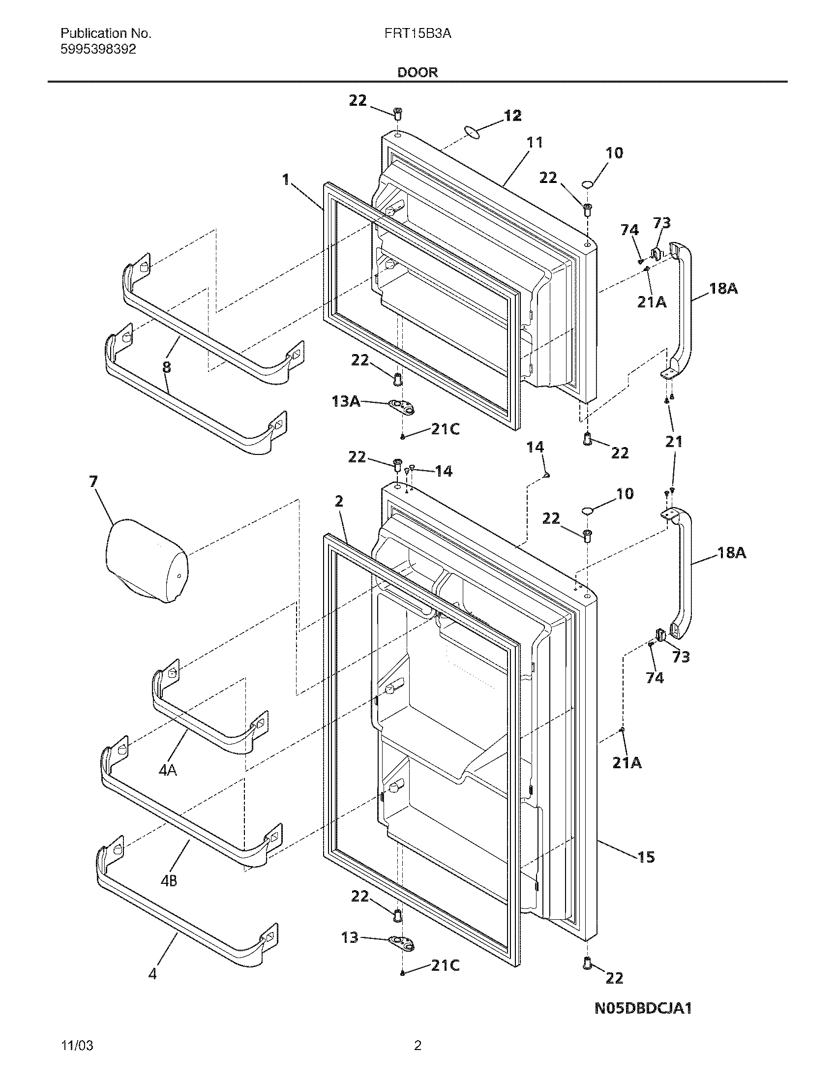
| 1 | 241872501 Frigidaire Refrigerator White Magnetic Freezer Door Gasket |
| 2 | 241872502 Frigidaire Refrigerator Fresh Food Door Gasket |
| 4 | DOOR RACK |
| 4A | 240535301 Frigidaire Refrigerator Door Shelf Rail 12.03 |
| 4B | DOOR RACK |
| 7 | 240337701 Frigidaire Refrigerator Dairy Door |
| 8 | DOOR RACK |
| 10 | 240381301 Frigidaire Refrigerator Button Plug |
| 11 | Door,frzr ,white ,complete assy |
| 12 | 240415201 Frigidaire Nameplate Label |
| 13 | 240312421 Frigidaire Refrigerator Door Stop |
| 13A | 240312414 Frigidaire Refrigerator Door Stop |
| 14 | 240494001 Frigidaire Refrigerator Plug Button |
| 15 | Door,refr ,white ,complete assy |
| 18A | WHITE DOOR HANDLE |
| 21 | 5304515677 Frigidaire Package of 4 Screws |
| 21C | 218252201 Frigidaire Refrigerator Screw |
| 21A | 240521303 Frigidaire Refrigerator Screw |
| 22 | 5304507146 Frigidaire Refrigerator Hinge Bearing |
| 73 | 218396700 Frigidaire Door Handle Mounting Block |
| 74 | 215503203 Frigidaire Refrigerator Door Handle Screw |