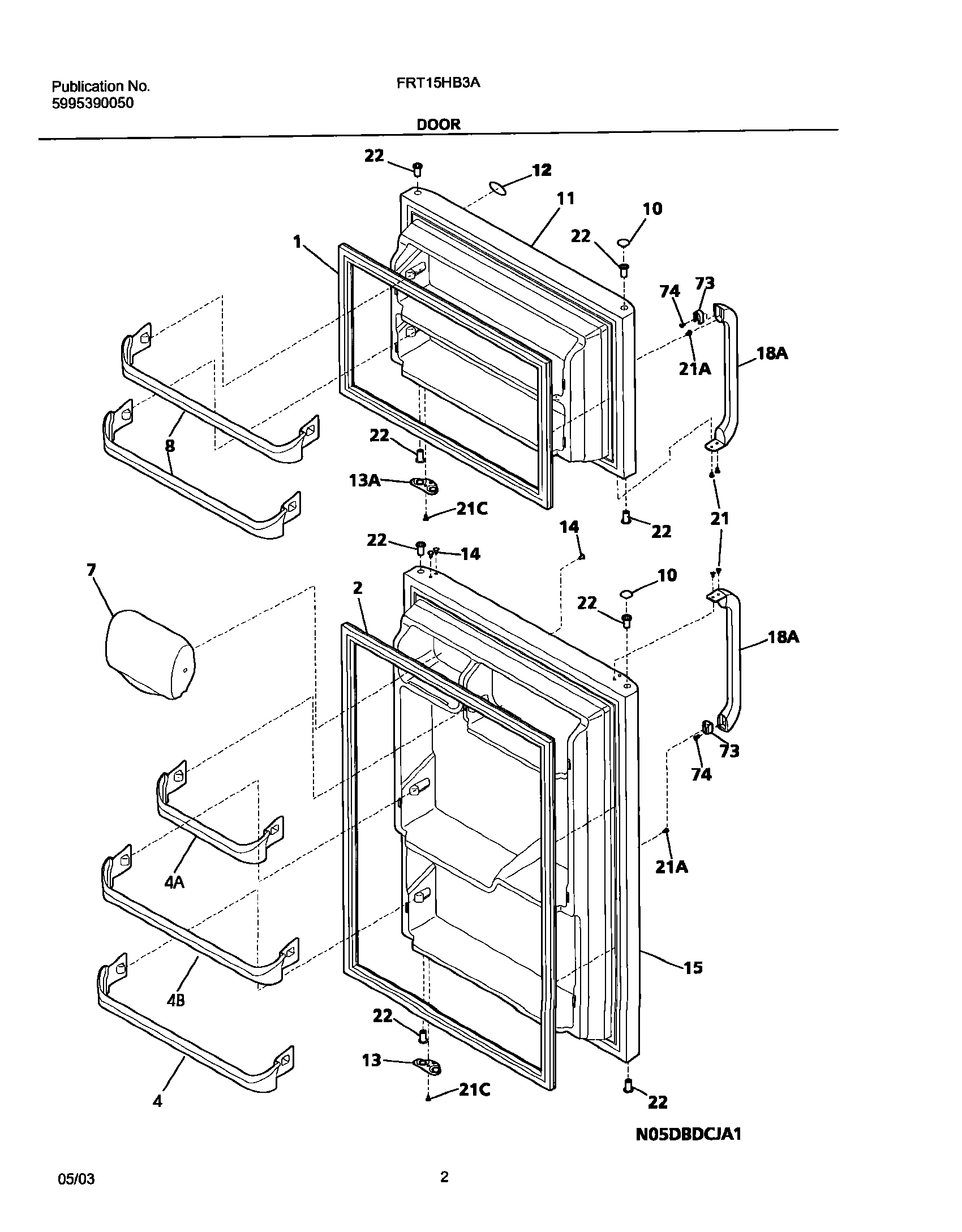
| 1 | 241872501 Frigidaire Refrigerator White Magnetic Freezer Door Gasket |
| 2 | 241872502 Frigidaire Refrigerator Fresh Food Door Gasket |
| 4A | 240535301 Frigidaire Refrigerator Door Shelf Rail 12.03 |
| 4B | DOOR RACK |
| 4 | DOOR RACK |
| 7 | 240337701 Frigidaire Refrigerator Dairy Door |
| 8 | DOOR RACK |
| 10 | WCI 240381302 |
| 11 | WCI 240415402 |
| 12 | WCI 240415203 |
| 13 | 240312423 Frigidaire Refrigerator Stop-Door |
| 13A | WCI 240312408 |
| 14 | 240494002 Frigidaire Refrigerator Plug-Button |
| 15 | WCI 240415502 |
| 18A | 218428119 Frigidaire Refrigerator Door Handle Bisque |
| 21 | 5304515677 Frigidaire Package of 4 Screws |
| 21C | 218252201 Frigidaire Refrigerator Screw |
| 21A | 240521303 Frigidaire Refrigerator Screw |
| 22 | 5304507146 Frigidaire Refrigerator Hinge Bearing |
| 73 | 218396700 Frigidaire Door Handle Mounting Block |
| 74 | 215503203 Frigidaire Refrigerator Door Handle Screw |