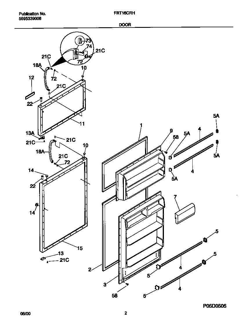
FRT16CRHW2 02 – DOOR