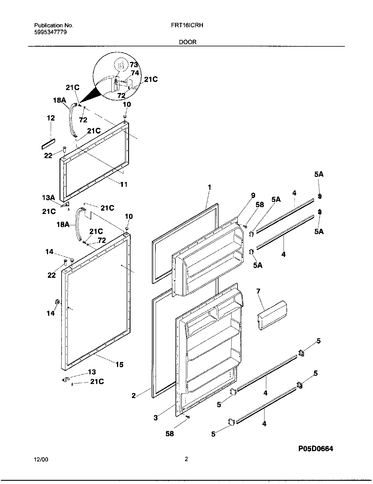
FRT16ICRHD4 02 – DOOR