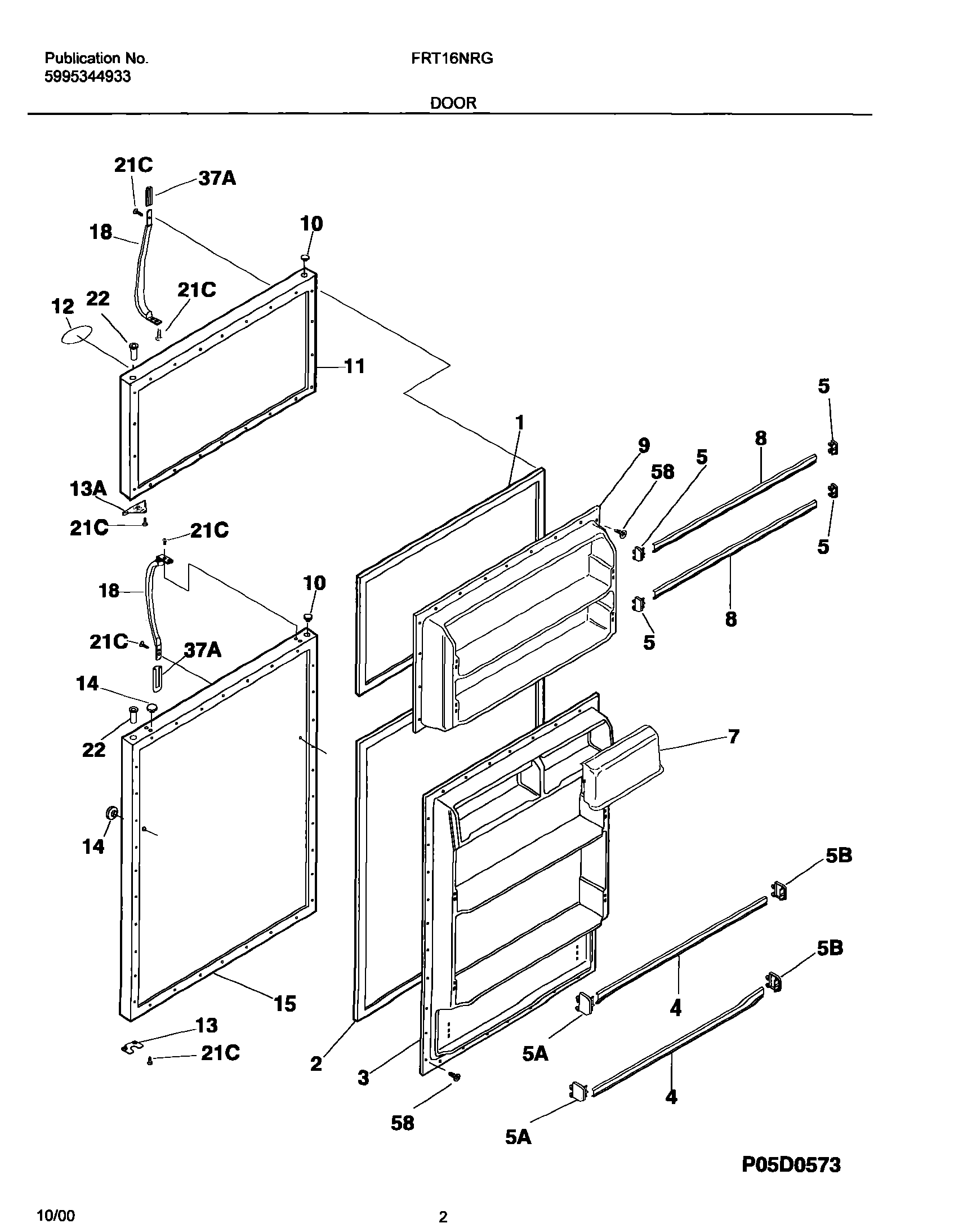
FRT16NRGY8 03 – DOOR