| *91080 | INSULATION |
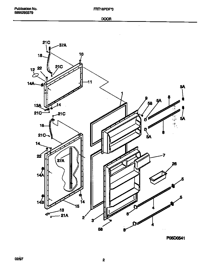
| 1 | GASKET-FRZR DOOR, WHITE, MAGNETIC |
| 2 | 218730603 Frigidaire Door Gasket |
| 3 | WCI 218359001 |
| 4 | 215516220 Frigidaire Refrigerator Door Rack |
| 5 | WCI 218758701 |
| 5 | 218758602 Frigidaire Refrigerator Door Rack Support |
| 7B | WCI 5303001380 |
| 7A | DOOR-DAIRY,10.71`` WIDE ,CLEAR |
| 9 | WCI 218358801 |
| 10 | PLUG-BUTTON, WHITE, HINGE BRG HOLE |
| 11 | WCI 5303917780 |
| 12 | LABEL-NAMEPLATE,WHITE |
| 12 | WCI 218364001 |
| 12 | MAGNET-NAMEPLATE (NOT ILLUSTRATED) |
| 13 | DOOR STOP, REFR SECTION |
| 13 | WCI 218249001 |
| 14 | 240494001 Frigidaire Refrigerator Plug Button |
| 14A | WCI 218074001 |
| 14B | WCI 218074002 |
| 15 | WCI 5303917778 |
| 18 | 218668001 Frigidaire Refrigerator P-1 Handle |
| 21 | 218252201 Frigidaire Refrigerator Screw |
| 21 | SCREW, NO. 8 OVAL HEAD, 10-32 (CA) X 5/8, CROSS RECESSED |
| 22 | WCI 218519300 |
| 26 | WCI 3204522 |
| 37B | WCI 215940700 |
| 37A | WCI 215782300 |
| 37 | WCI 215867070 |
| 37 | WCI 215870619 |
| 58 | 216858001 Frigidaire Refrigerator Screw |