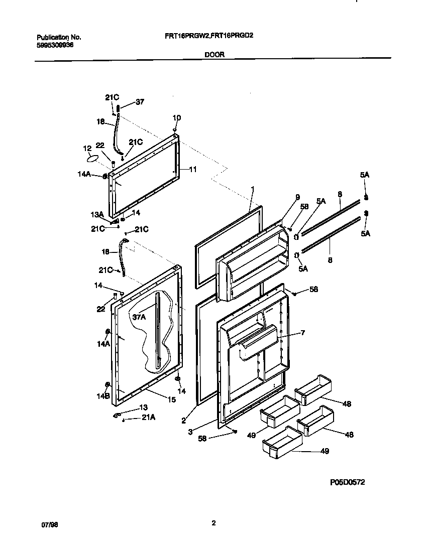
FRT16PRGD2 02 – DOOR