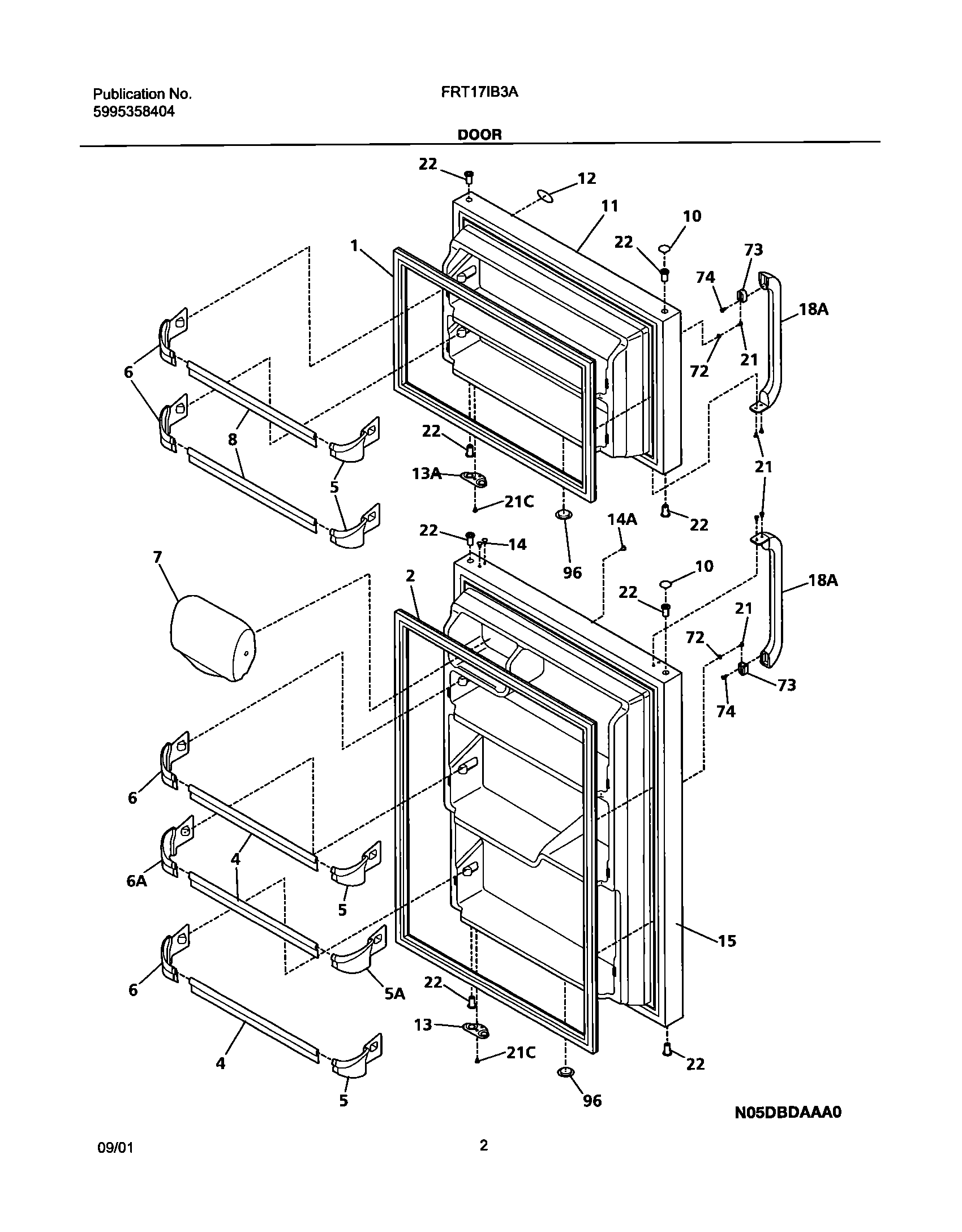
FRT17IB3AZ1 03 – DOOR