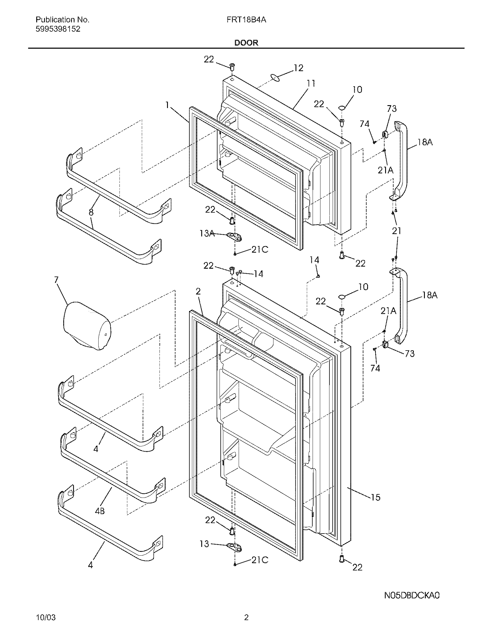
FRT18B4AQ8 03 – DOOR